-
图片来源于网络,如有侵权,请联系删除3月2日,科技部、金融监管总局、工业和信息化部、国家知识产权局联合发布了《关于加快推动科技保险高质量发展 有力支撑高水平科技自立自强的若干意见》,围绕“保障谁、保什么、怎么保”提出20项政策举措,加快构建同科技创新相适应的科技保险体制机制。 科技保险是科技金融大文章的重要组成部分,对科技创新风险分散和资金支持具有重要作用。《意见》要求聚焦国家重大科技任务、科技型中小企业、科技创新重点领域和关键环节强化保险保障;同时,引导机构加快科...
-
图片来源于网络,如有侵权,请联系删除 每经记者|杨弃非 每经编辑|程鹏 刘艳美 “永争第一”,消费抢先破题图片来源于网络,如有侵权,请联系删除 消费是拉动经济增长的“主引擎”。近日,广东多个重点项目接连迎来新消息。图片来源于网络,如有侵权,请联系删除 3月2日,据“南方Plus”报道,刚刚大手笔拿下广州珠江新城马场地块的越秀集团,正式签约北京华联SKP。 图片来...
-
图片来源于网络,如有侵权,请联系删除证券之星消息,根据天眼查APP数据显示石化油服(600871)新获得一项实用新型专利授权,专利名为“一种双支撑PDC-滚轮混合钻头”,专利申请号为CN202422955605.8,授权日为2026年3月3日。 专利摘要:本实用新型属于石油及地质钻探工具技术领域,具体地,涉及一种双支撑PDC?滚轮混合钻头。双支撑PDC?滚轮混合钻头包括:用于连接钻柱的钻头体;设置在所述钻头体上的PDC组件;以及设置在所述钻头体上的滚轮组件,所述滚轮组件包...
-
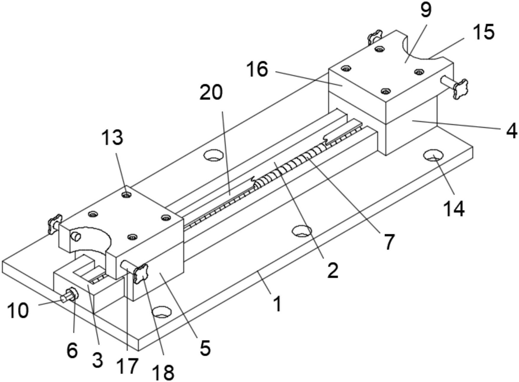
图片来源于网络,如有侵权,请联系删除证券之星消息,根据天眼查APP数据显示威帝股份(603023)新获得一项实用新型专利授权,专利名为“一种可采集多路三态信号的液晶仪表”,专利申请号为CN202520820856.7,授权日为2026年3月3日。 专利摘要:本实用新型公开了一种可采集多路三态信号的液晶仪表,其包括:主控制器以及与主控制器连接的液晶电路、开关量采集输入电路、CAN总线通信电路、功率输出电路、电源电路以及信号片输出电路,液晶电路包括相互连接的液晶驱动电路和液晶...
-
证券之星消息,根据天眼查APP数据显示诺瓦星云(301589)新获得一项外观设计专利授权,专利名为“电子设备的显示屏方案制作图形用户界面”,专利申请号为CN202530191746.4,授权日为2026年3月3日。 专利摘要:1.本外观设计产品的名称:电子设备的显示屏方案制作图形用户界面。2.本外观设计产品的用途:用于一种电子设备。3.本外观设计产品的设计要点:在于图形用户界面的设计。4.最能表明设计要点的图片或照片:界面变化状态图2。5.图形用户界面的用途:用于显示屏方...
-
图片来源于网络,如有侵权,请联系删除证券之星消息,根据天眼查APP数据显示顾家家居(603816)新获得一项外观设计专利授权,专利名为“床架(JD.B302FQ1)”,专利申请号为CN202530506045.5,授权日为2026年3月3日。 专利摘要:1.本外观设计产品的名称:床架(JD.B302FQ1)。2.本外观设计产品的用途:用于家具。3.本外观设计产品的设计要点:在于形状。4.最能表明设计要点的图片或照片:立体图1。5.本外观设计产品的底面为使用时不容易看到或看...
-
图片来源于网络,如有侵权,请联系删除证券之星消息,根据天眼查APP数据显示宁德时代(300750)新获得一项外观设计专利授权,专利名为“热管理集成模块”,专利申请号为CN202530318715.0,授权日为2026年3月3日。 专利摘要:1.本外观设计产品的名称:热管理集成模块。2.本外观设计产品的用途:本外观设计产品用于储能热管理系统的热管理集成模块。3.本外观设计产品的设计要点:在于形状。4.最能表明设计要点的图片或照片:立体图1。图片来源于网络,如有侵权,请联系删...
-
图片来源于网络,如有侵权,请联系删除证券之星消息,根据天眼查APP数据显示瑞可达(688800)新获得一项实用新型专利授权,专利名为“充电接口自动开盖机构及应用其的充电座”,专利申请号为CN202520694042.3,授权日为2026年3月3日。 专利摘要:本实用新型公开了充电接口自动开盖机构及应用其的充电座。该充电接口自动开盖机构包括:充电座本体、端盖以及转动模组;充电座本体前端中间设有环形凸出的充电口且其横向一侧的上下两端设有两个铰座;端盖的环形端圈和充电口小间隙配...
-
图片来源于网络,如有侵权,请联系删除证券之星消息,根据天眼查APP数据显示赣粤高速(600269)新获得一项实用新型专利授权,专利名为“一种废旧沥青路面材料破碎筛选装置”,专利申请号为CN202520488469.8,授权日为2026年3月3日。 专利摘要:本实用新型涉及一种废旧沥青路面材料破碎筛选装置,包括有安装底座,安装底座上侧连接有导流板,导流板上连接有安装框,安装框内部安装有破碎组件,安装底座上部左右两侧之间连接有筛选板,安装底座上设置有防堵塞机构,防堵塞机构用于...
-
图片来源于网络,如有侵权,请联系删除证券之星消息,根据天眼查APP数据显示矩阵股份(301365)新获得一项外观设计专利授权,专利名为“书架”,专利申请号为CN202530522170.5,授权日为2026年3月3日。 专利摘要:1.本外观设计产品的名称:书架。2.本外观设计产品的用途:书架。3.本外观设计产品的设计要点:在于形状。4.最能表明设计要点的图片或照片:立体图。 今年以来矩阵股份新获得专利授权3个,较去年同期增加了50%。结合公司2025年中报财务数据,2...










