-
图片来源于网络,如有侵权,请联系删除人民财讯1月30日电,企查查APP显示,近日,中建新能源智充私募股权投资基金(深圳)合伙企业(有限合伙)成立,出资额10亿元,经营范围包含以私募基金从事股权投资、投资管理、资产管理等活动。企查查股权穿透显示,该企业由深圳担保集团有限公司、中国建筑(601668)旗下中建投资基金管理(北京)有限公司等共同出资。...
-
图片来源于网络,如有侵权,请联系删除 每经编辑|胡玲 王晓波 图片来源于网络,如有侵权,请联系删除 1 隔夜市场图片来源于网络,如有侵权,请联系删除 美股三大指数收盘涨跌不一,纳指跌0.72%,标普500指数跌0.13%,道指涨0.11%;科技股涨跌互现,微软下跌10%,市值蒸发3570亿美元(约合人民币2.48万亿元);特斯拉跌超3%,甲骨文跌超2%,Meta涨超10%,IBM涨超5%。中概股涨跌不一,纳斯达克...
-
图片来源于网络,如有侵权,请联系删除证券之星消息,根据天眼查APP数据显示祥鑫科技(002965)新获得一项实用新型专利授权,专利名为“一种浸没式液冷电池箱体装置”,专利申请号为CN202423236176.5,授权日为2026年1月30日。 专利摘要:本实用新型涉及电池技术领域,尤其是一种浸没式液冷电池箱体装置,包括一箱体(100)、一上盖(200)以及一电池模组(300),所述箱体(100)具有一进水嘴(101)和一出水嘴(102),所述箱体(100)具有一开口的容置...
-
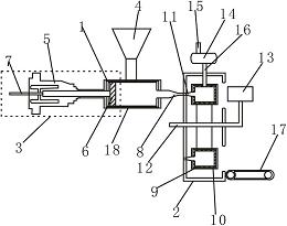
图片来源于网络,如有侵权,请联系删除证券之星消息,根据天眼查APP数据显示鸿利智汇(300219)新获得一项实用新型专利授权,专利名为“一种LED封装结构及灯珠”,专利申请号为CN202423264121.5,授权日为2026年1月30日。 专利摘要:本申请提供了一种LED封装结构及灯珠,包括基板主体以及设置在所述基板主体的第一侧面的导电层,所述导电层远离所述基板主体的一侧设置有第一凹槽;所述第一凹槽内设置有第一油墨层,且所述第一油墨层凸出于所述第一凹槽。如此,可以防止在...
-
图片来源于网络,如有侵权,请联系删除证券之星消息,根据天眼查APP数据显示九安医疗(002432)新获得一项外观设计专利授权,专利名为“助针器的外壳”,专利申请号为CN202530244146.X,授权日为2026年1月30日。 专利摘要:1.本外观设计产品的名称:助针器的外壳。2.本外观设计产品的用途:用于将测量体内分析物的传感器贴片敷贴到使用者的身体上。本外观设计产品的要求保护的局部的用途:用作助针器的外壳。3.本外观设计产品的设计要点:在于实线所示部分的形状。4.最...
-
图片来源于网络,如有侵权,请联系删除记者从29日在沪召开的商业航天器及应用产业链共链行动大会获悉,我国将布局更多“太空+”未来产业。据介绍,中国航天科技集团作为我国商业航天器及应用产业链“链长”单位,将在“十五五”期间围绕发展商业航天国家战略部署,发挥中央企业战略引领、生态构建等职能,带动产业链上中下游企业共谋新发展、共建新能力、共筑新生态,实施五大工程。其中,包括实施未来产业发展培育工程,谋划推动太空数智基础设施、太空资源开发、太空交通管理、太空旅游等新领域发展。图片来源于...
-
图片来源于网络,如有侵权,请联系删除记者1月29日获悉,民政部近日印发《民政部关于进一步推进民政科技创新的指导意见》(以下简称《意见》),从总体要求、加强民政关键核心技术攻关、促进民政科技成果转化应用等5个方面提出了14条具体措施。业内专家指出,《意见》为我国银发经济向万亿级市场发展带来新机遇,其中,养老服务机器人、康复辅助器具等细分产业或迎技术落地与产品迭代黄金期。“《意见》是面向‘十五五’印发的首个关于民政科技创新的综合性政策文件。”民政部直属机关党委副书记、人事司副司长...
-
图片来源于网络,如有侵权,请联系删除证券之星消息,根据天眼查APP数据显示长虹美菱(000521)新获得一项外观设计专利授权,专利名为“洗衣机高搅拌叶片波轮盘”,专利申请号为CN202530492917.7,授权日为2026年1月30日。 专利摘要:1.本外观设计产品的名称:洗衣机高搅拌叶片波轮盘。2.本外观设计产品的用途:用于洗涤衣物等物品。3.本外观设计产品的设计要点:在于形状。4.最能表明设计要点的图片或照片:立体图。5.本外观设计产品的底面为使用时不容易看到或看不...
-
图片来源于网络,如有侵权,请联系删除证券之星消息,根据天眼查APP数据显示力合微(688589)新获得一项实用新型专利授权,专利名为“一种防止外设倒灌的智能融合终端SPI通信接口电路”,专利申请号为CN202522808650.5,授权日为2026年1月30日。 专利摘要:本实用新型公开了一种防止外设倒灌的智能融合终端SPI通信接口电路,集成设置在智能融合终端上的外设SPI接口和主控单元,外设SPI接口用于电性连接外部SPI从设备,外设SPI接口与主控单元双向电性连接;外...
-
图片来源于网络,如有侵权,请联系删除证券之星消息,根据天眼查APP数据显示工商银行(601398)新获得一项实用新型专利授权,专利名为“航空插头转接头”,专利申请号为CN202423174338.7,授权日为2026年1月30日。 专利摘要:本申请涉及一种航空插头转接头,包括插头结构,该结构包含插头主体和五个阳性接触件,每个阳性接触件均安装在插头主体上且至少部分地伸出主体,五个阳性接触件分别为用于与机柜的A线、B线、C线、N线和PE线电连接的A线接触件、B线接触件、C线接...










