法狮龙获得外观设计专利授权:“电器面板”
作者:小微
发表于:2025年08月08日
浏览量:69792

图片来源于网络,如有侵权,请联系删除
证券之星消息,根据天眼查APP数据显示法狮龙(605318)新获得一项外观设计专利授权,专利名为“电器面板”,专利申请号为CN202430660378.9,授权日为2025年8月8日。
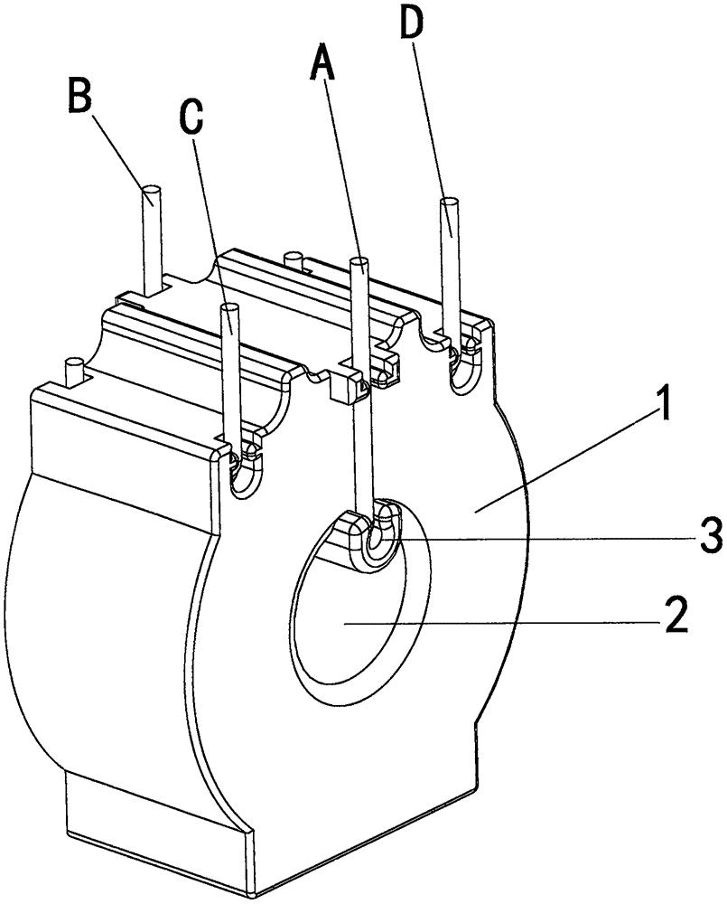
专利摘要:1.本外观设计产品的名称:电器面板。2.本外观设计产品的用途:本外观设计产品用于吊顶取暖器、浴霸、通风系统的表面面板,是一种电器配件。3.本外观设计产品的设计要点:在于形状。4.最能表明设计要点的图片或照片:立体图。

图片来源于网络,如有侵权,请联系删除
今年以来法狮龙新获得专利授权72个,较去年同期增加了380%。结合公司2024年年报财务数据,2024年公司在研发方面投入了2287.48万元,同比减23.29%。

图片来源于网络,如有侵权,请联系删除
通过天眼查大数据分析,法狮龙家居建材股份有限公司共对外投资了7家企业,参与招投标项目47次;财产线索方面有商标信息551条,专利信息801条,著作权信息25条;此外企业还拥有行政许可19个。
数据来源:天眼查APP
以上内容为证券之星据公开信息整理,由AI算法生成(网信算备310104345710301240019号),不构成投资建议。
