华能国际获得实用新型专利授权:“一种便携式网络安全防护装置”
作者:小微
发表于:2025年08月05日
浏览量:64600

图片来源于网络,如有侵权,请联系删除
证券之星消息,根据天眼查APP数据显示华能国际(600011)新获得一项实用新型专利授权,专利名为“一种便携式网络安全防护装置”,专利申请号为CN202422533326.2,授权日为2025年8月5日。
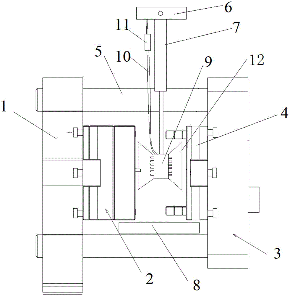
专利摘要:本实用新型公开了一种便携式网络安全防护装置,通过在保护壳的一侧设置有开口结构,盖体可拆卸安装于保护壳的开口处,保护壳的内侧侧壁及盖体的内侧设置有多个滑槽,滑槽内滑动设置有滑动块,滑动块的一侧均设置有伸缩杆,伸缩杆的端部设置有连接块,连接块的端面设置有卡槽,信号屏蔽器本体的外出设置有用于与卡槽卡接的固定块,通过将信号屏蔽器本体四周的固定块分别卡到保护壳和盖体一侧的连接块的卡槽内,将信号屏蔽器本体悬空设置,当保护壳受到外力的冲击下,产生的冲击力会直接传递到数个伸缩杆上,并压缩或拉伸内部的减震弹簧,将冲击力缓冲掉,减少了冲击力传递到信号屏蔽器本体上的度,从而提高了对信号屏蔽器本体的保护效果。

图片来源于网络,如有侵权,请联系删除
今年以来华能国际新获得专利授权50个,较去年同期减少了53.7%。结合公司2025年中报财务数据,今年上半年公司在研发方面投入了5.85亿元,同比减3.84%。

图片来源于网络,如有侵权,请联系删除
通过天眼查大数据分析,华能国际电力股份有限公司共对外投资了209家企业,参与招投标项目4555次;财产线索方面有商标信息49条,专利信息1613条,著作权信息14条;此外企业还拥有行政许可27个。
数据来源:天眼查APP
以上内容为证券之星据公开信息整理,由AI算法生成(网信算备310104345710301240019号),不构成投资建议。
