华勤技术获得发明专利授权:“一种扬声器”
作者:小微
发表于:2025年05月31日
浏览量:64198

图片来源于网络,如有侵权,请联系删除
证券之星消息,根据天眼查APP数据显示华勤技术(603296)新获得一项发明专利授权,专利名为“一种扬声器”,专利申请号为CN202211217790.X,授权日为2025年5月30日。
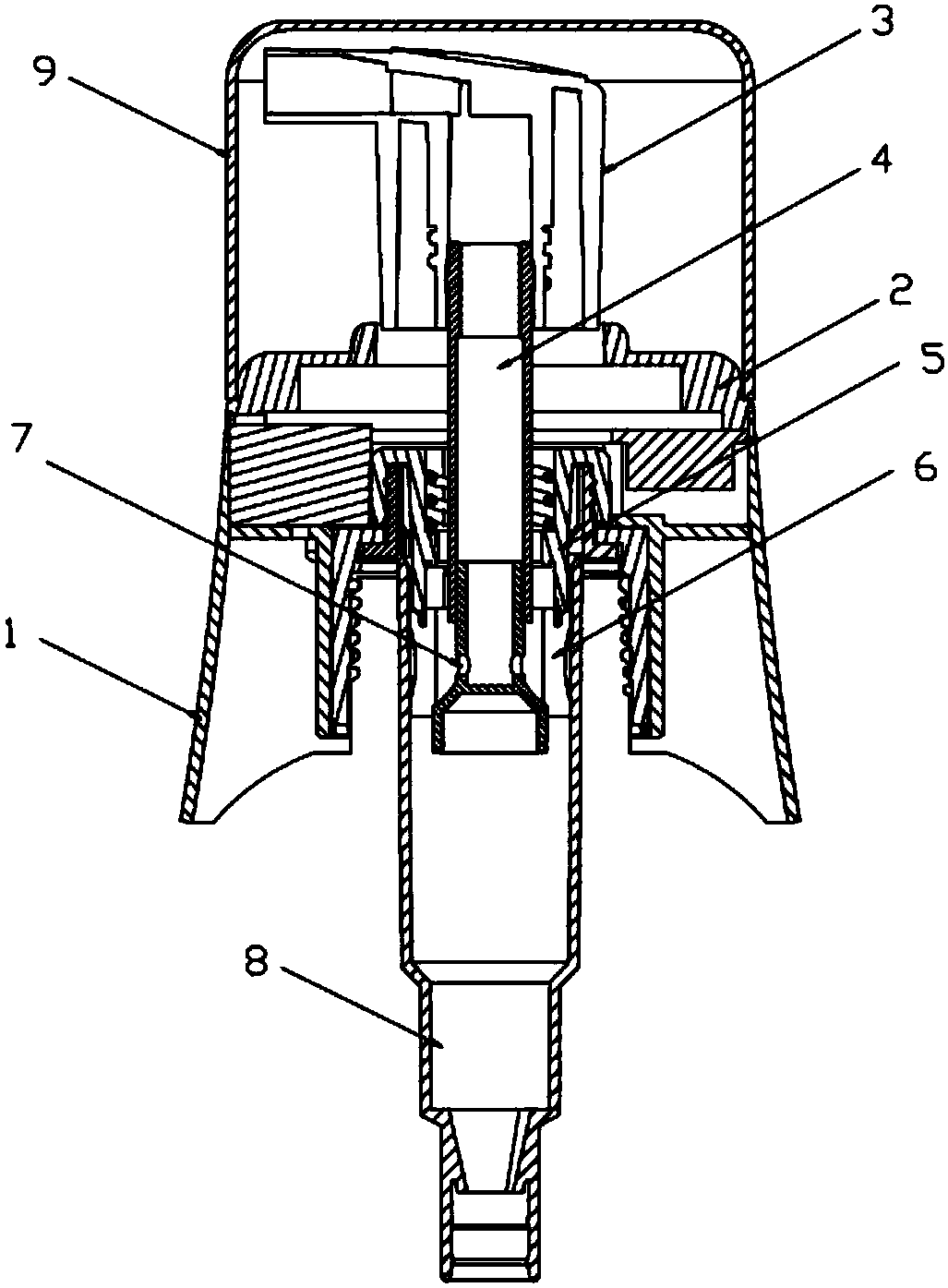
专利摘要:一种扬声器,包括:外壳和扬声器单体。其中,扬声器单体包括中贴,中贴内包含有电阻丝。一方面,该电阻丝增加了中贴的刚性,刚性的增加可以延长声音的可听频段,也可以平滑声音,减少声音的突变。另一方面,该电阻丝可通电发热,当扬声器内部有水分时,可通过加热电阻丝,使得中贴温度相对升高,加快水分的蒸发。综上,本申请提供的一种扬声器,不仅增加了中贴的刚性,而且具有排水功能,因此提高了扬声器的性能。

图片来源于网络,如有侵权,请联系删除
今年以来华勤技术新获得专利授权12个,较去年同期增加了9.09%。结合公司2024年年报财务数据,2024年公司在研发方面投入了51.56亿元,同比增13.38%。

图片来源于网络,如有侵权,请联系删除
数据来源:天眼查APP
以上内容为证券之星据公开信息整理,由AI算法生成(网信算备310104345710301240019号),不构成投资建议。
