北自科技获得发明专利授权:“一种织布空轴转运装置、电子布生产系统及空轴转运方法”
作者:小微
发表于:2025年06月21日
浏览量:80678

图片来源于网络,如有侵权,请联系删除
证券之星消息,根据天眼查APP数据显示北自科技(603082)新获得一项发明专利授权,专利名为“一种织布空轴转运装置、电子布生产系统及空轴转运方法”,专利申请号为CN202210151078.8,授权日为2025年6月20日。
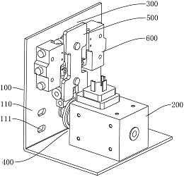
专利摘要:本发明提供了一种织布空轴转运装置、电子布生产系统及空轴转运方法,涉及纺织机械技术领域,解决了现有技术中存在的空轴转运过程需要人工参与的技术问题。该织布空轴转运装置包括悬臂式对接站台,所述对接站台包括机架和输送机构,空轴能够放置于所述输送机构上进行传输。本发明利用悬臂式对接站台的输送机构进行空轴的输送,空轴的转运无需人工参与,节省人力,方便实现生产自动化和工序无人化升级;而且织布空轴转运装置具有一定的缓存能力,能够调节织布和后处理之间的空轴供求平衡,电子布生产系统能够快速顺畅地运转。使用本发明的空轴转运方法,实现了电子布生产系统的自动化生产,提高了生产效率。

图片来源于网络,如有侵权,请联系删除
今年以来北自科技新获得专利授权20个,较去年同期增加了25%。结合公司2024年年报财务数据,2024年公司在研发方面投入了7345.46万元,同比增4.57%。
通过天眼查大数据分析,北自所(北京)科技发展股份有限公司共对外投资了1家企业,参与招投标项目375次;财产线索方面有商标信息35条,专利信息282条,著作权信息157条;此外企业还拥有行政许可14个。
数据来源:天眼查APP
以上内容为证券之星据公开信息整理,由AI算法生成(网信算备310104345710301240019号),不构成投资建议。
