南网科技获得发明专利授权:“一种具有测温结构的开关柜”
作者:小微
发表于:2025年07月22日
浏览量:65322

图片来源于网络,如有侵权,请联系删除
证券之星消息,根据天眼查APP数据显示南网科技(688248)新获得一项发明专利授权,专利名为“一种具有测温结构的开关柜”,专利申请号为CN202211565586.7,授权日为2025年7月22日。
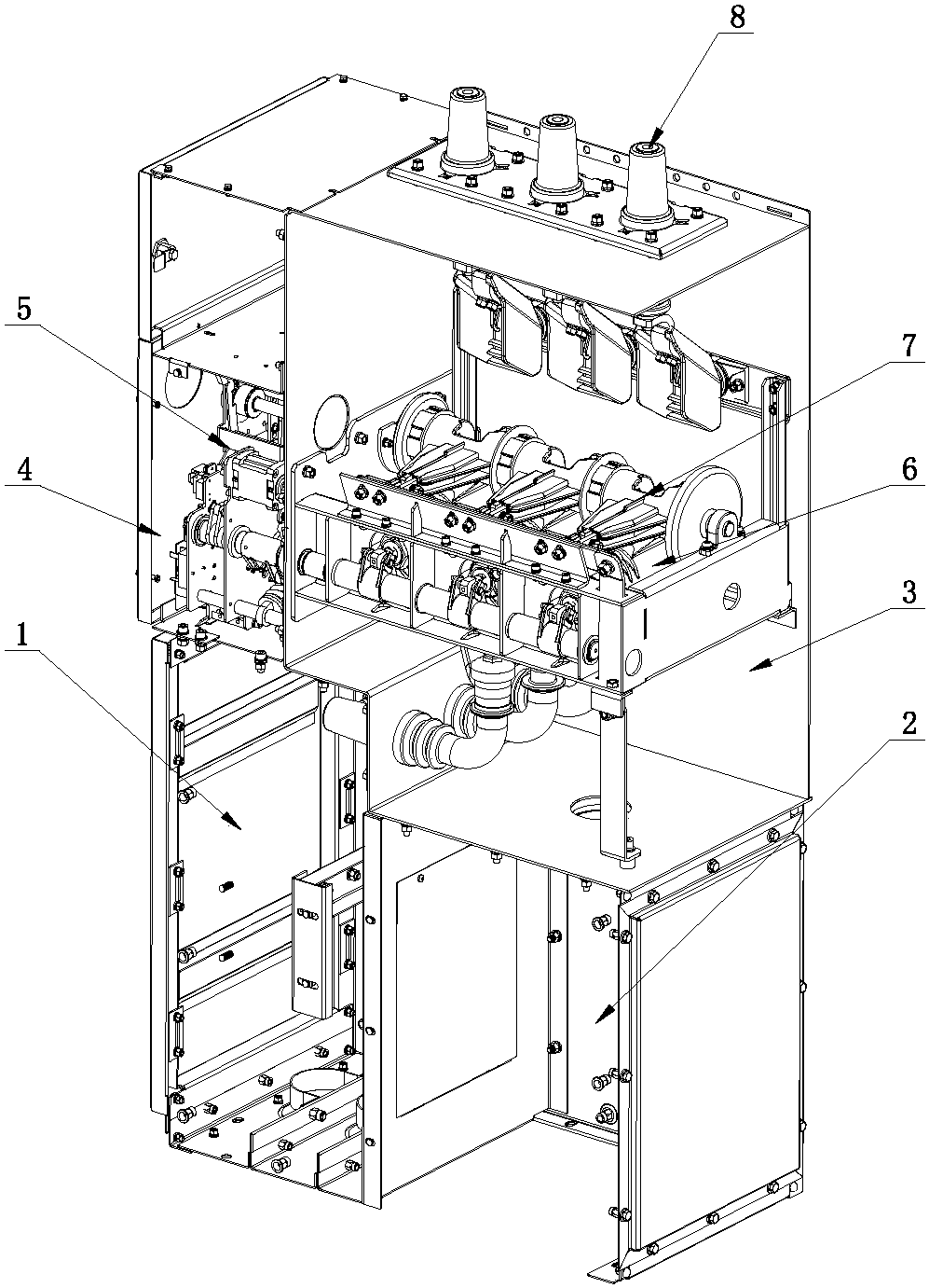
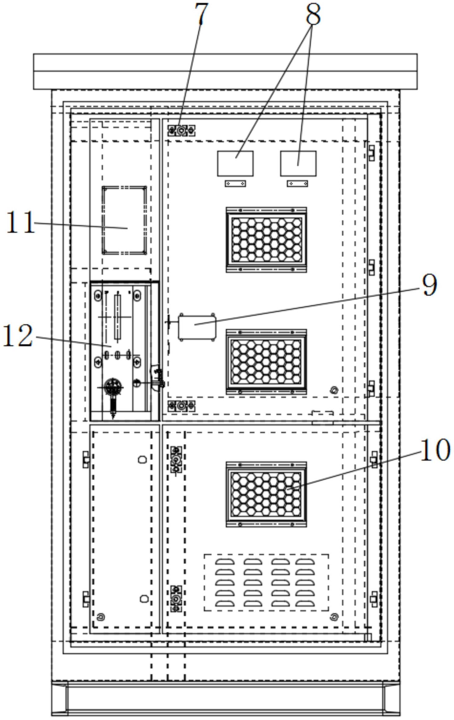
专利摘要:本申请公开了一种具有测温结构的开关柜,涉及开关柜技术领域,包括开关柜本体以及测温机构;测温机构包括安装板和两个L型盒;安装板上靠近一侧边缘位置沿竖直方向开设有第一滑动通孔;L型盒与第一滑动通孔滑动配合;第二盒段内枢接有螺杆;螺杆上螺纹套设有与第一盒段内滑动配合的第一滑块,第一滑块连接有设置有温度传感器的传感器座;L型盒上固定有通过第一传动组件与螺杆连接的第一电。安装板一侧沿竖直方向枢接设置有双向丝杠;双向丝杠上螺纹套设有两个第二连接块;两个第二连接块分别一一对应与第一电机连接,双向丝杠受第二电机驱动。上述设计避免了该具有测温结构的开关柜内部安装的各个元器件因温度过高且处理不及时而损坏的问题。

图片来源于网络,如有侵权,请联系删除
今年以来南网科技新获得专利授权25个,较去年同期减少了62.12%。结合公司2024年年报财务数据,2024年公司在研发方面投入了2.23亿元,同比增36.99%。

图片来源于网络,如有侵权,请联系删除
通过天眼查大数据分析,南方电网电力科技股份有限公司共对外投资了9家企业,参与招投标项目8003次;财产线索方面有商标信息130条,专利信息1141条,著作权信息162条;此外企业还拥有行政许可48个。
数据来源:天眼查APP
以上内容为证券之星据公开信息整理,由AI算法生成(网信算备310104345710301240019号),不构成投资建议。
