格力电器获得实用新型专利授权:“一种液位开关测试装置”
作者:小微
发表于:2025年07月23日
浏览量:57330

图片来源于网络,如有侵权,请联系删除
证券之星消息,根据天眼查APP数据显示格力电器(000651)新获得一项实用新型专利授权,专利名为“一种液位开关测试装置”,专利申请号为CN202421941629.1,授权日为2025年7月8日。
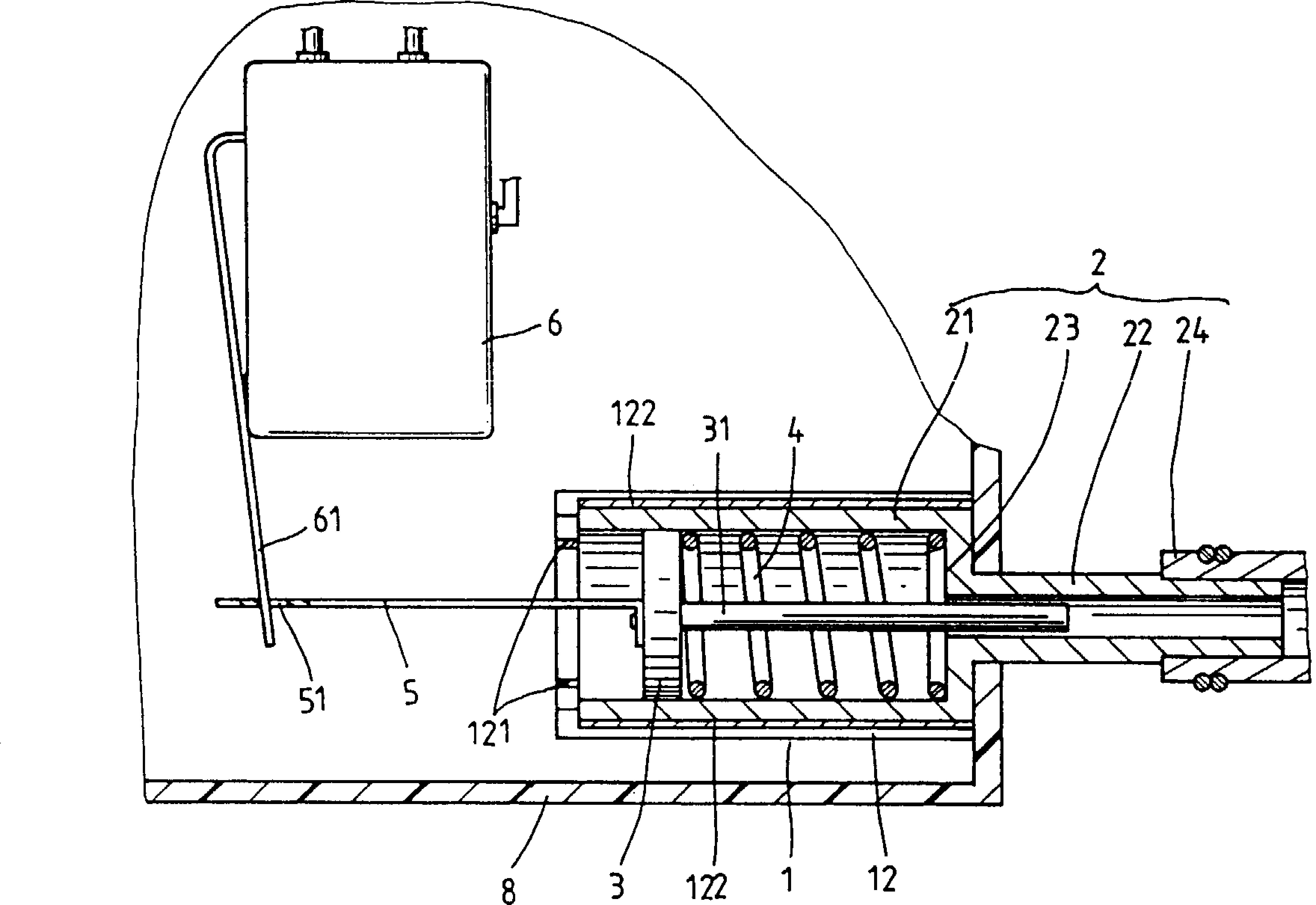
专利摘要:本实用新型实施例公开了一种液位开关测试装置,包括固定组件、驱动组件和夹持组件,所述驱动组件设置于所述固定组件上,所述固定组件上开设有转动空间,所述驱动组件包括驱动件和与所述驱动件连接的驱动轴,所述驱动轴位于所述转动空间内,所述夹持组件设置于所述驱动轴上并用于固定液位开关;所述驱动件可驱动所述驱动轴转动,以带动所述夹持组件在所述转动空间内转动。本实用新型通过夹持组件固定液位开关,并在转动空间内进行转动测试,如此,可以快速获取液位开关的测试情况,筛选出异常的液位开关。
今年以来格力电器新获得专利授权3725个,较去年同期减少了8.32%。结合公司2024年年报财务数据,2024年公司在研发方面投入了69.04亿元,同比增2.1%。
通过天眼查大数据分析,珠海格力电器股份有限公司共对外投资了101家企业,参与招投标项目27988次;财产线索方面有商标信息8135条,专利信息115189条,著作权信息297条;此外企业还拥有行政许可827个。
数据来源:天眼查APP
以上内容为证券之星据公开信息整理,由AI算法生成(网信算备310104345710301240019号),不构成投资建议。
