容百科技获得实用新型专利授权:“一种犁刀式混合机”
作者:小微
发表于:2025年06月24日
浏览量:63000

图片来源于网络,如有侵权,请联系删除
证券之星消息,根据天眼查APP数据显示容百科技(688005)新获得一项实用新型专利授权,专利名为“一种犁刀式混合机”,专利申请号为CN202422039938.6,授权日为2025年6月24日。
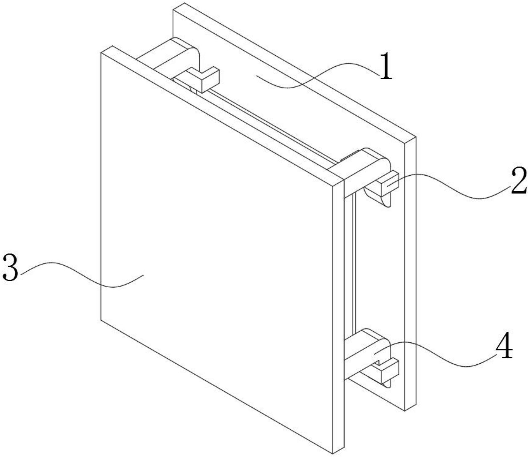
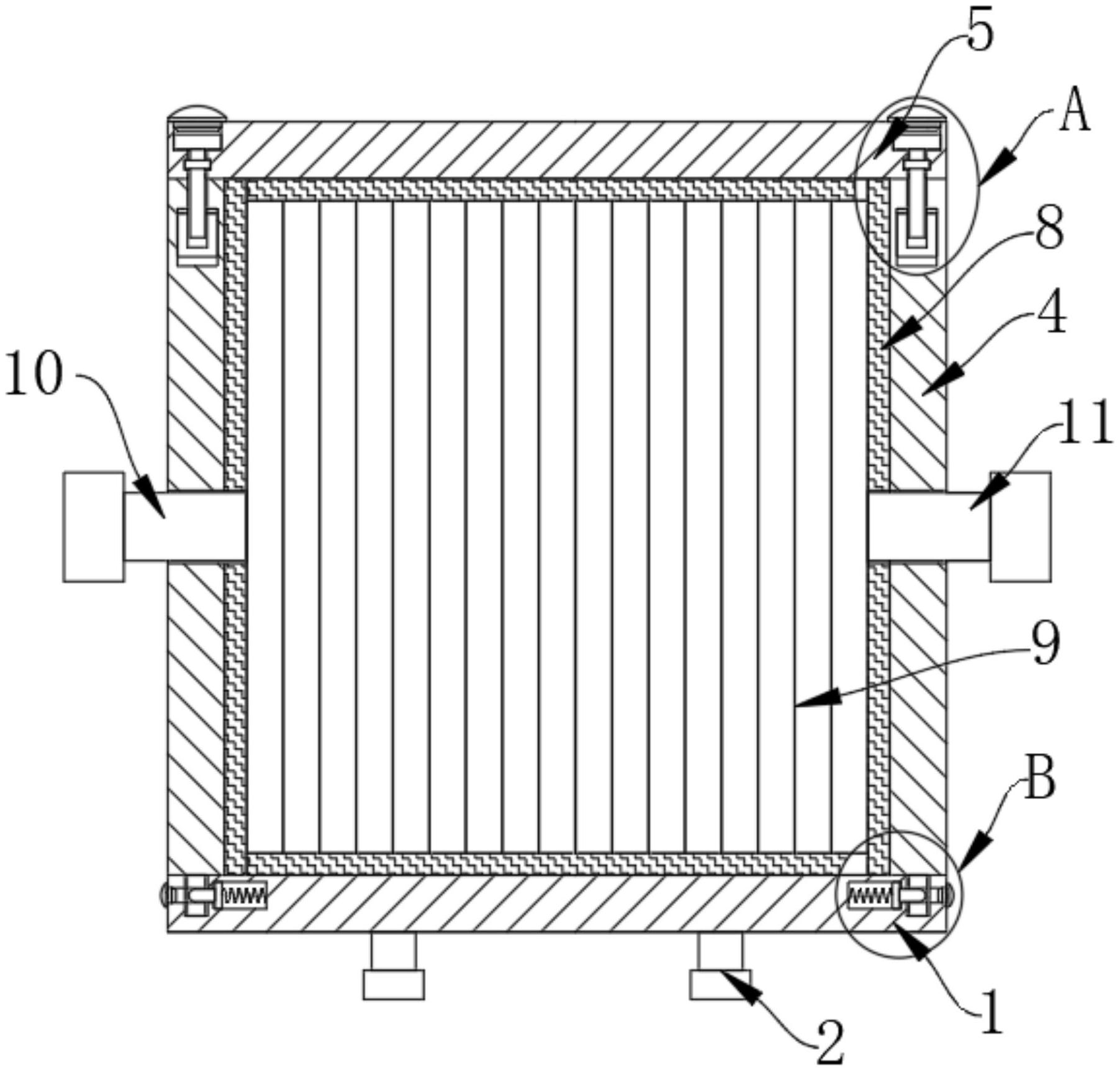
专利摘要:本申请提供一种犁刀式混合机,涉及物料混合技术领域。犁刀混合机包括:混料筒;主轴,贯穿混料筒的两端,主轴的两端设置有主轴密封结构,主轴密封结构具有主轴进气口;飞刀,安装于混料筒,设置有飞刀密封结构,飞刀密封结构具有飞刀进气口;气体输送机构,包括第一进气管、第二进气管、主轴管路及飞刀管路,第一进气管和第二进气管均与气源连通,第一进气管和第二进气管均与主轴管路及飞刀管路连通,主轴管路与主轴进气口连通,飞刀管路与飞刀进气口连通。本申请的犁刀式混合机,通过两路不同压力气源从相同进气口反吹的密封方式,在不影响精计量的同时延长了犁刀式混合机的使用寿命。

图片来源于网络,如有侵权,请联系删除
今年以来容百科技新获得专利授权41个,较去年同期减少了21.15%。结合公司2024年年报财务数据,2024年公司在研发方面投入了4.24亿元,同比增19.74%。

图片来源于网络,如有侵权,请联系删除
通过天眼查大数据分析,宁波容百新能源科技股份有限公司共对外投资了15家企业,参与招投标项目61次;财产线索方面有商标信息14条,专利信息674条,著作权信息1条;此外企业还拥有行政许可21个。
数据来源:天眼查APP
以上内容为证券之星据公开信息整理,由AI算法生成(网信算备310104345710301240019号),不构成投资建议。
