小熊电器获得实用新型专利授权:“落料机构及包括其的破壁机”
作者:小微
发表于:2025年05月31日
浏览量:70546

图片来源于网络,如有侵权,请联系删除
证券之星消息,根据天眼查APP数据显示小熊电器(002959)新获得一项实用新型专利授权,专利名为“落料机构及包括其的破壁机”,专利申请号为CN202421781032.5,授权日为2025年5月30日。
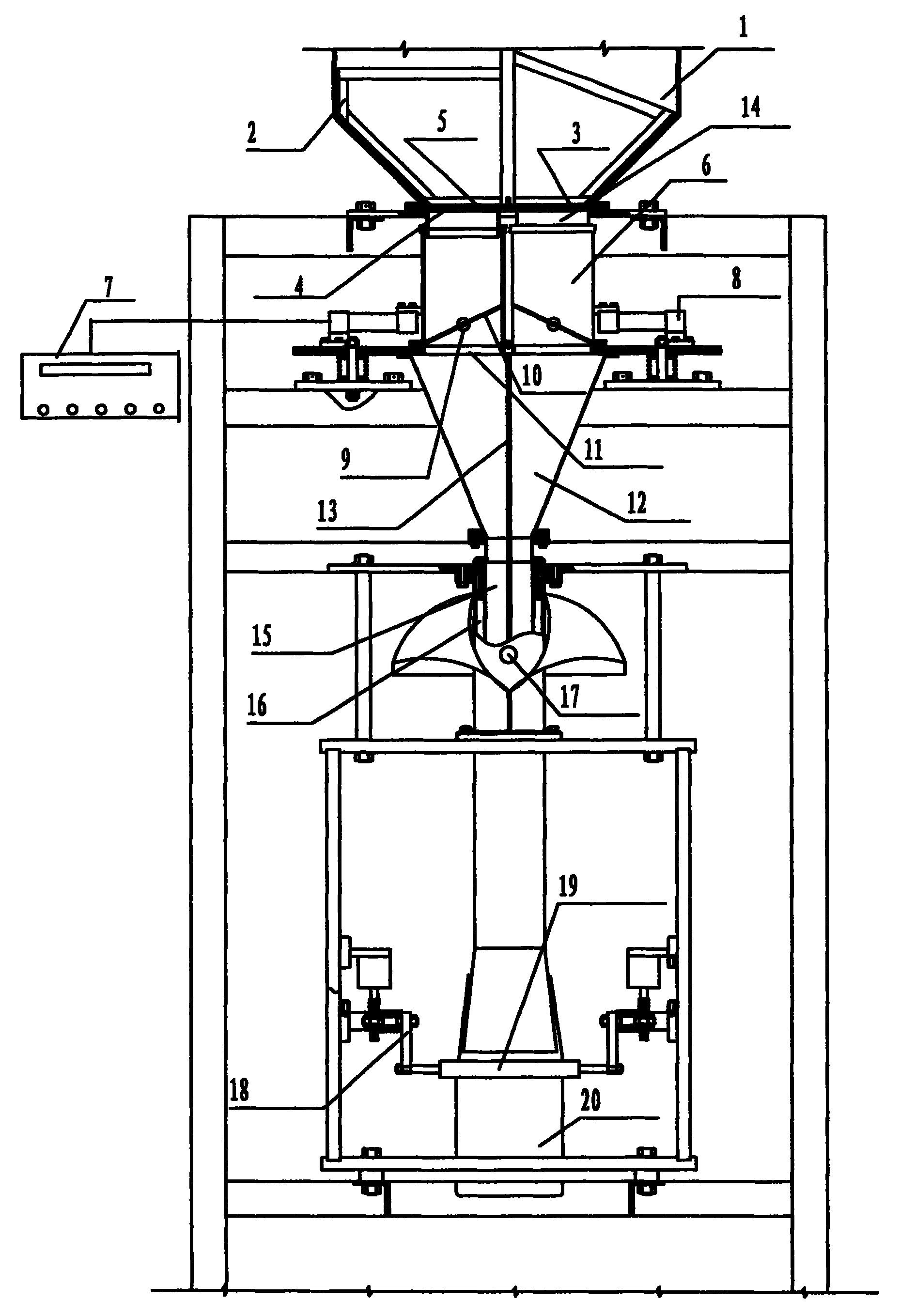
专利摘要:本实用新型公开了落料机构及包括其的破壁机;落料机构用于破壁机,包括:杯盖,用于连接于搅拌杯,杯盖设置有限位台阶;储料筒,可拆卸地插设于杯盖,储料筒的下侧开设有出料口,储料筒的上侧设置有位于限位台阶上方的限位外沿,限位外沿抵设于限位台阶;拨动件,包括转动板和连接于转动板的拨片,转动板转动连接于储料筒的下侧,拨片受液体的冲击力而带动转动板从关闭位置转动至打开位置,转动板处于关闭位置时,转动板关闭出料口,转动板处于打开位置时出料口打开。储料筒从上往下装入杯盖,限位外沿位于限位台阶上方并与限位台阶相抵以提高储料筒的位置稳定性,从而可避免储料筒在杯盖内出现松动或者掉落,安全性能得以保证和提高。
今年以来小熊电器新获得专利授权113个,与去年同期持平。结合公司2024年年报财务数据,2024年公司在研发方面投入了1.95亿元,同比增36.48%。
数据来源:天眼查APP
以上内容为证券之星据公开信息整理,由AI算法生成(网信算备310104345710301240019号),不构成投资建议。
