鲍斯股份获得实用新型专利授权:“一种钟摆阀”
作者:小微
发表于:2025年05月27日
浏览量:62651

图片来源于网络,如有侵权,请联系删除
证券之星消息,根据天眼查APP数据显示鲍斯股份(300441)新获得一项实用新型专利授权,专利名为“一种钟摆阀”,专利申请号为CN202421826202.7,授权日为2025年5月27日。
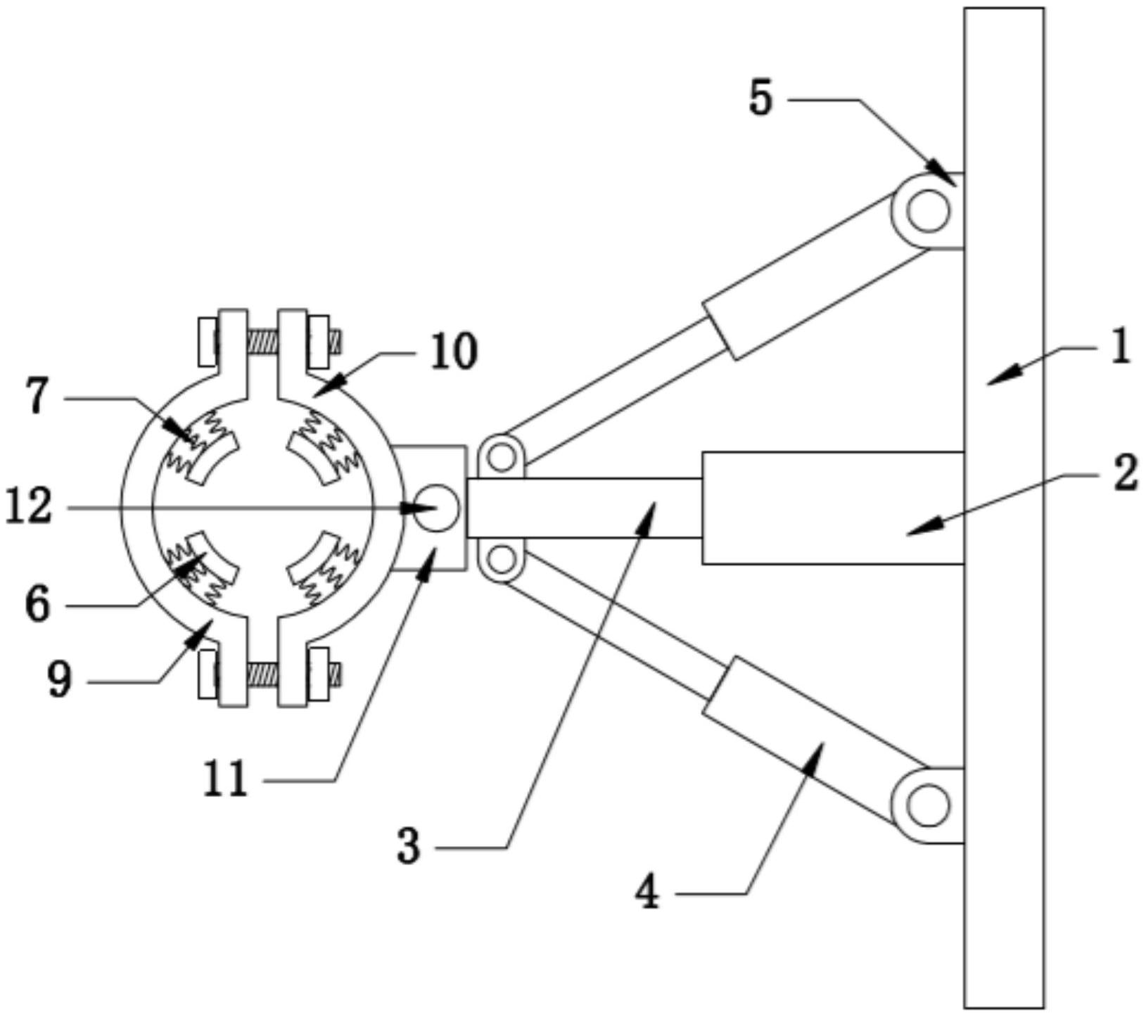
专利摘要:本公开涉及真空阀技术领域,尤其是涉及一种钟摆阀,一种钟摆阀,包括阀体和阀盘,所述阀体上设置有阀口,所述阀体连接有驱动机构,所述驱动机构连接有连杆组件,所述驱动机构带动连杆组件摆动,所述连杆组件的摆动带动阀盘的摆动,阀盘的摆动使阀口打开或关闭;所述阀盘上设置有阀片和若干个滚珠,所述阀片靠近阀口的一侧设置有密封件,所述阀片上设置有凹陷部,所述凹陷部的位置与滚珠相对应,滚珠在随内盘转动时,滚珠进入凹陷部,如此一来,就能增大阀口与阀片之间距离,避免密封件受到挤压。

图片来源于网络,如有侵权,请联系删除
今年以来鲍斯股份新获得专利授权15个,较去年同期减少了11.76%。结合公司2024年年报财务数据,2024年公司在研发方面投入了1.1亿元,同比减0.58%。
数据来源:天眼查APP
以上内容为证券之星据公开信息整理,由AI算法生成(网信算备310104345710301240019号),不构成投资建议。
