箭牌家居获得实用新型专利授权:“一种保险丝焊接工装”
作者:小微
发表于:2025年05月17日
浏览量:75670

图片来源于网络,如有侵权,请联系删除
证券之星消息,根据天眼查APP数据显示箭牌家居(001322)新获得一项实用新型专利授权,专利名为“一种保险丝焊接工装”,专利申请号为CN202421320934.9,授权日为2025年5月16日。
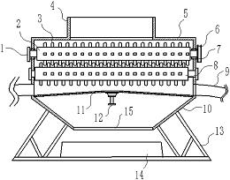
专利摘要:本实用新型公开了一种保险丝焊接工装,并公开了固定座,固定座用于放置保险丝和PCB板,保险丝的两侧连接有用于与PCB板焊接的引脚,还设置有导电部,其中一个导电部一端用于与保险丝的一侧的引脚抵接,另一个导电部的一端用于与保险丝的另一侧的引脚抵接,两个导电部的未与引脚抵接的一端均与导通测试工具电连接,固定座位于两个导电部之间的部分设置有绝缘部,或固定座位于两个导电部之间的部分由绝缘材料构成。上述保险丝焊接工装能够在焊接过程中或者焊接完成后在工装上完成导通测试,无需新增单独检测工序,简化生产工序,提高生产效率。

图片来源于网络,如有侵权,请联系删除
今年以来箭牌家居新获得专利授权227个,较去年同期减少了3.4%。结合公司2024年年报财务数据,2024年公司在研发方面投入了3.72亿元,同比增8.84%。

图片来源于网络,如有侵权,请联系删除
数据来源:天眼查APP
以上内容为证券之星据公开信息整理,由AI算法生成(网信算备310104345710301240019号),不构成投资建议。
