-
图片来源于网络,如有侵权,请联系删除央行连续第16个月增持黄金。 3月7日,中国人民银行数据显示,2月末黄金储备报7422万盎司,环比增加3万盎司,1月末为7419万盎司,为连续第16个月增持黄金。 同日,国家外汇管理局统计数据显示,截至2026年2月末,我国外汇储备规模为34278亿美元,较1月末上升287亿美元,升幅为0.85%。图片来源于网络,如有侵权,请联系删除 2026年2月,受主要经济体宏观经济数据、货币政策及预期等因素影响,美元指数上涨,全...
-
图片来源于网络,如有侵权,请联系删除3月7日上午10时,十四届全国人大四次会议举行民生主题记者会。教育部部长怀进鹏、民政部部长陆治原、人力资源和社会保障部部长王晓萍、文化和旅游部部长孙业礼、国家卫生健康委员会主任雷海潮就教育、民政、人力资源和社会保障、文旅、卫生健康等相关问题回答中外记者提问。 教育部 我国义务教育达高收入国家平均水平 当前,我国基础教育普及度和关键指标全面超越中高收入国家平均水平,特别是学前教育和义务教育达到高收入国家平均水平。...
-
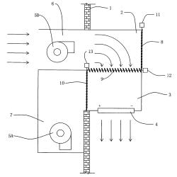
图片来源于网络,如有侵权,请联系删除证券之星消息,根据天眼查APP数据显示海尔智家(600690)新获得一项发明专利授权,专利名为“冷藏冷冻装置及其控制方法”,专利申请号为CN202210038850.5,授权日为2026年3月6日。 专利摘要:本发明涉及冷藏冷冻装置及其控制方法,冷藏冷冻装置包括限定有冷冻间室的箱体、冷冻风机和压缩制冷系统,压缩制冷系统包括压缩机、与压缩机串联连接的冷冻蒸发器和冷冻节流装置。本发明的控制方法包括:当冷藏冷冻装置达到预设的自动关机条件时,控...
-
图片来源于网络,如有侵权,请联系删除证券之星消息,根据天眼查APP数据显示圣邦股份(300661)新获得一项发明专利授权,专利名为“一种芯片的电源控制电路和芯片”,专利申请号为CN202411867689.8,授权日为2026年3月6日。 专利摘要:本公开的实施例提供一种芯片的电源控制电路和芯片。该电源控制电路包括节点电压生成模块、比较模块和控制模块,节点电压生成模块根据电源端口电压建立稳定的第一内部节点电压,根据内部电路电压建立稳定的第二内部节点电压,比较模块比较第一内...
-
图片来源于网络,如有侵权,请联系删除证券之星消息,根据天眼查APP数据显示海尔智家(600690)新获得一项发明专利授权,专利名为“一种烤箱温度的确定方法、装置、烤箱及存储介质”,专利申请号为CN202011055946.X,授权日为2026年3月6日。 专利摘要:本发明实施例公开了一种烤箱温度的确定方法、装置、烤箱及存储介质。该确定方法包括:获取多个采样周期中烤箱内部的温度探测点对应的探测点温度值,并根据所述探测点温度值确定所述烤箱的探测点保温参数;根据所述探测点保温参...
-
图片来源于网络,如有侵权,请联系删除证券之星消息,根据天眼查APP数据显示大华股份(002236)新获得一项发明专利授权,专利名为“一种KVM系统下基于安全验证的远程登录方法及服务器”,专利申请号为CN202310406757.X,授权日为2026年3月6日。 专利摘要:本申请涉及一种KVM系统下基于安全验证的远程登录方法及服务器,包括令服务器接收本地设备发送的验证数据,对所述验证数据进行安全验证;若通过所述安全验证,则从所述验证数据中提取生物特征数据,在预存的映射关系中...
-
图片来源于网络,如有侵权,请联系删除证券之星消息,根据天眼查APP数据显示邮储银行(601658)新获得一项发明专利授权,专利名为“脚本的生成方法、SDK、处理器和电子设备”,专利申请号为CN202211697748.2,授权日为2026年3月6日。 专利摘要:本申请提供了一种脚本的生成方法、SDK、处理器和电子设备,该方法包括:接收第一预定数量的服务发送的第一预定数量的参数修改请求信息,根据第一预定数量的参数修改请求信息,调用mvn插件,生成需要修改参数的目标可执行脚本...
-
图片来源于网络,如有侵权,请联系删除证券之星消息,根据天眼查APP数据显示海尔智家(600690)新获得一项发明专利授权,专利名为“数据处理方法、装置、设备及存储介质”,专利申请号为CN202210393480.7,授权日为2026年3月6日。 专利摘要:本申请公开了一种数据处理方法、装置、设备及存储介质,涉及计算机技术领域,该数据处理方法包括:响应于待处理数据中包含数字类型的敏感数据,获取敏感数据对应的二进制数据;将二进制数据按位存储至初始位数组中,得到第一位数组;根据...
-
图片来源于网络,如有侵权,请联系删除证券之星消息,根据天眼查APP数据显示浪潮信息(000977)新获得一项发明专利授权,专利名为“一种服务器内存扩展方法和电子设备”,专利申请号为CN202511947380.4,授权日为2026年3月6日。 专利摘要:本申请公开了一种服务器内存扩展方法和电子设备,涉及服务器技术领域,初始化内存资源管理机制,并向各服务器节点发送探测信号。依据各服务器节点反馈的内存资源信息,生成内存资源表;依据节点间数据包的传输时间,构建节点互传速度表。主...
-
图片来源于网络,如有侵权,请联系删除证券之星消息,根据天眼查APP数据显示万华化学(600309)新获得一项发明专利授权,专利名为“一种高接枝率低交联度POE接枝MAH的制备方法”,专利申请号为CN202511949679.3,授权日为2026年3月6日。 专利摘要:本发明公开了一种高接枝率低交联度POE接枝MAH的制备方法。所述方法包括以下过程:将POE弹性体与MAH、引发剂、任选地助剂共混,在螺杆挤出机中进行熔融接枝反应,挤出、造粒,得到所述POE接枝MAH;所述PO...










