-
图片来源于网络,如有侵权,请联系删除 每经编辑|胡玲 王晓波 图片来源于网络,如有侵权,请联系删除 1 隔夜市场图片来源于网络,如有侵权,请联系删除 美股三大指数收盘涨跌不一,纳指跌0.72%,标普500指数跌0.13%,道指涨0.11%;科技股涨跌互现,微软下跌10%,市值蒸发3570亿美元(约合人民币2.48万亿元);特斯拉跌超3%,甲骨文跌超2%,Meta涨超10%,IBM涨超5%。中概股涨跌不一,纳斯达克...
-
图片来源于网络,如有侵权,请联系删除证券之星消息,根据天眼查APP数据显示长虹美菱(000521)新获得一项外观设计专利授权,专利名为“洗衣机高搅拌叶片波轮盘”,专利申请号为CN202530492917.7,授权日为2026年1月30日。 专利摘要:1.本外观设计产品的名称:洗衣机高搅拌叶片波轮盘。2.本外观设计产品的用途:用于洗涤衣物等物品。3.本外观设计产品的设计要点:在于形状。4.最能表明设计要点的图片或照片:立体图。5.本外观设计产品的底面为使用时不容易看到或看不...
-
图片来源于网络,如有侵权,请联系删除证券之星消息,根据天眼查APP数据显示力合微(688589)新获得一项实用新型专利授权,专利名为“一种防止外设倒灌的智能融合终端SPI通信接口电路”,专利申请号为CN202522808650.5,授权日为2026年1月30日。 专利摘要:本实用新型公开了一种防止外设倒灌的智能融合终端SPI通信接口电路,集成设置在智能融合终端上的外设SPI接口和主控单元,外设SPI接口用于电性连接外部SPI从设备,外设SPI接口与主控单元双向电性连接;外...
-
图片来源于网络,如有侵权,请联系删除证券之星消息,根据天眼查APP数据显示工商银行(601398)新获得一项实用新型专利授权,专利名为“航空插头转接头”,专利申请号为CN202423174338.7,授权日为2026年1月30日。 专利摘要:本申请涉及一种航空插头转接头,包括插头结构,该结构包含插头主体和五个阳性接触件,每个阳性接触件均安装在插头主体上且至少部分地伸出主体,五个阳性接触件分别为用于与机柜的A线、B线、C线、N线和PE线电连接的A线接触件、B线接触件、C线接...
-
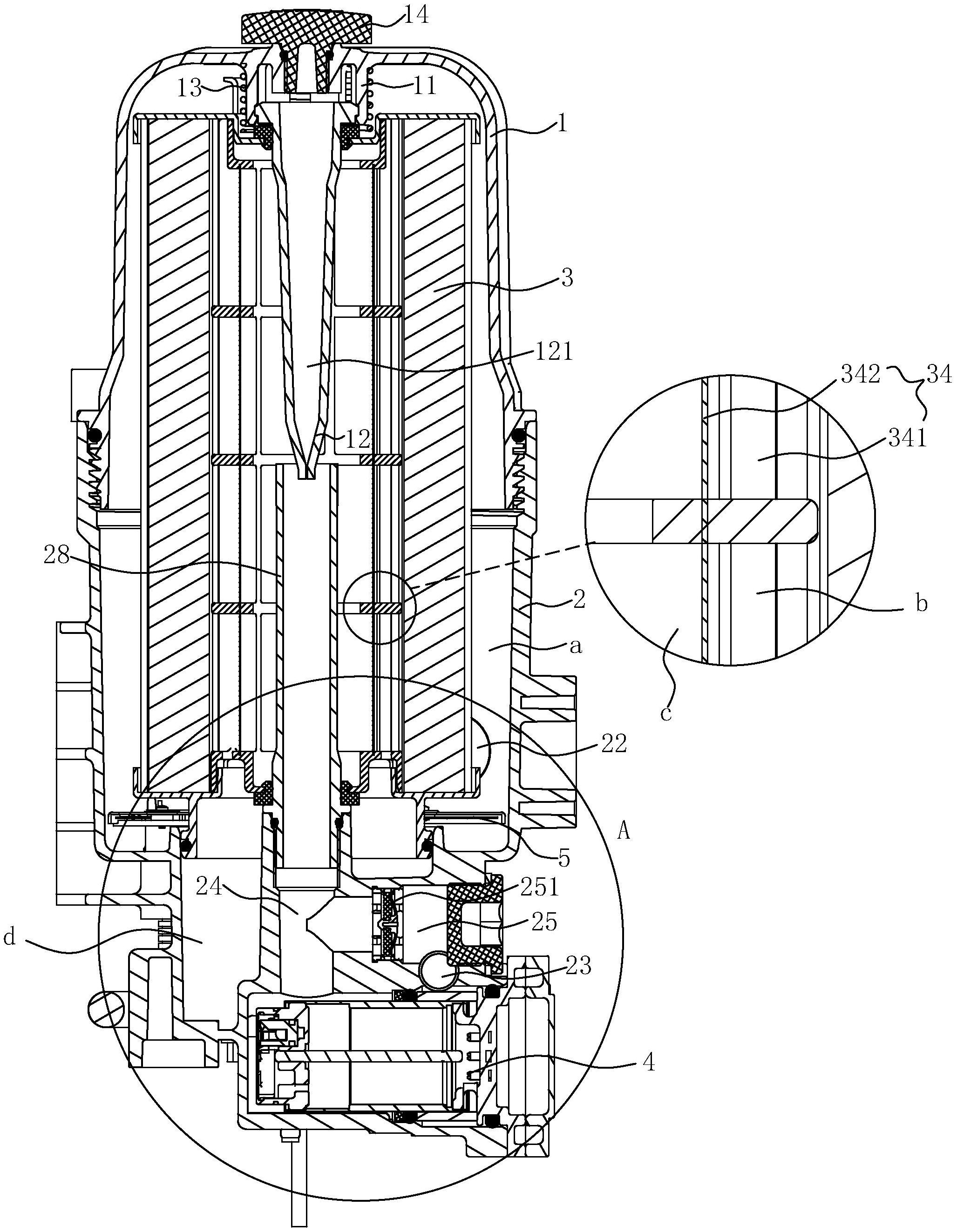
图片来源于网络,如有侵权,请联系删除证券之星消息,根据天眼查APP数据显示三花智控(002050)新获得一项实用新型专利授权,专利名为“一种电子膨胀阀”,专利申请号为CN202520167949.4,授权日为2026年1月30日。 专利摘要:本申请涉及一种电子膨胀阀,包括阀座、螺母组件、丝杆和转子组件;转子组件包括磁转子和金属连接件,金属连接件包括环形本体部和第一止动部,第一止动部凸出于环形本体部的一侧端面,且第一止动部的内缘直径与环形本体部的内缘直径相同;螺母组件包括螺...
-
图片来源于网络,如有侵权,请联系删除 每经记者|张怀水 每经编辑|贾运可 1月29日,据中国政府网消息,国务院办公厅日前印发《加快培育服务消费新增长点工作方案》(以下简称《工作方案》)。 《每日经济新闻》记者梳理发现,《工作方案》分别从激发重点领域发展活力、培育潜力领域发展动能和加强支持保障3个方面,出台了12项具体举措,涵盖交通服务、家政服务、旅居服务、体育赛事等。...
-
图片来源于网络,如有侵权,请联系删除证券之星 李若菡 盈方微(000670.SZ)已连续三年出现亏损,公司2025年预计净亏损为6900万元-9700万元,亏损幅度进一步扩大。图片来源于网络,如有侵权,请联系删除 证券之星注意到,销售毛利率下滑、股份支付费用以及商誉减值等是导致公司业绩亏损的主要原因。同时,公司还面临应收账款高企、净资产偏低的风险。在盈利能力持续承压的背景下,公司此前推进的三次内部重组均未能落地,相关人员还曾因涉嫌内幕信息泄露被立案。目前,盈方微新一轮重组...
-
图片来源于网络,如有侵权,请联系删除人民财讯1月29日电,1月28日,工业和信息化部副部长谢远生在京会见国际电信联盟无线电通信局主任马里奥·马尼维奇,就中国举办2027年世界无线电通信大会(WRC-27)系列会议筹办工作相关事宜进行交流。 谢远生表示,作为首个举办世界无线电通信大会的亚太区域国家,中国非常期待此次盛会的成功举办。中方愿同国际电信联盟密切协作,共同做好大会各项筹办工作。相信在双方的共同努力下,WRC-27将是一场成果丰硕、精彩纷呈的无线电盛会,将为推动全球无线...
-
图片来源于网络,如有侵权,请联系删除(原标题:报告显示散户对A股信心进一步增强) 近日,长江商学院发布的2025年第四季度《投资者情绪调查报告》(下称《报告》)显示,本期(2025年12月)认为A股会上涨的受访者占比约62.3%,较9月调查结果微降0.8个百分点。其中,散户信心进一步增强,散户认为A股会上涨的比例进一步提升至64.2%,较9月提高2.5个百分点。图片来源于网络,如有侵权,请联系删除 相比之下,散户与金融业对房地产的看法均趋于谨慎,看涨房价的比例均明显回落,...
-
图片来源于网络,如有侵权,请联系删除印尼股市再暴跌。 印度尼西亚基准股指雅加达综合指数盘中一度跌超8%,并触发熔断机制,市场交易暂停30分钟。印尼基准股指恢复交易后继续暴跌,跌幅一度扩大至约10%,随后有所收窄,截至发稿,跌约8%。 此前一个交易日,雅加达综合指数盘中一度跌超8%,并触发熔断机制。截至1月28日收盘,雅加达综合指数报收于8320.56点,较前一交易日下跌7.35%。图片来源于网络,如有侵权,请联系删除 据悉,此次暴跌的主要原因是指数编制公司明晟...










