德龙激光获得实用新型专利授权:“方壳及刀片电池模组巴片铣削设备”
作者:小微
发表于:2026年03月10日
浏览量:60237

图片来源于网络,如有侵权,请联系删除
证券之星消息,根据天眼查APP数据显示德龙激光(688170)新获得一项实用新型专利授权,专利名为“方壳及刀片电池模组巴片铣削设备”,专利申请号为CN202520293512.5,授权日为2026年3月10日。
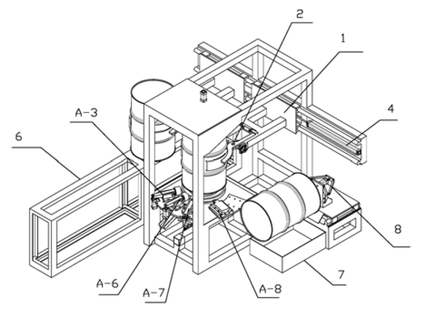
专利摘要:本实用新型涉及一种方壳及刀片电池模组巴片铣削设备,包括KBK行吊、吊具和铣削机,在铣削机的前端安装有KBK行吊,在KBK行吊上安装有吊具;在铣削机前端的KBK行吊的下方设置有产品预定位规整机构。本实用新型设备龙门架结构,配角度摆动设计,兼容多种电芯模组拆解,适合拆解行业多元化的产品类型,高兼容性,减少设备数量投入。

图片来源于网络,如有侵权,请联系删除
今年以来德龙激光新获得专利授权17个,较去年同期增加了112.5%。结合公司2025年中报财务数据,2025上半年公司在研发方面投入了6613.77万元,同比增0.21%。
通过天眼查大数据分析,苏州德龙激光股份有限公司共对外投资了11家企业,参与招投标项目315次;财产线索方面有商标信息20条,专利信息653条,著作权信息169条;此外企业还拥有行政许可5个。
数据来源:天眼查APP
以上内容为证券之星据公开信息整理,由AI算法生成(网信算备310104345710301240019号),不构成投资建议。
