赣粤高速获得实用新型专利授权:“一种废旧沥青路面材料破碎筛选装置”
作者:小微
发表于:2026年03月03日
浏览量:59459

图片来源于网络,如有侵权,请联系删除
证券之星消息,根据天眼查APP数据显示赣粤高速(600269)新获得一项实用新型专利授权,专利名为“一种废旧沥青路面材料破碎筛选装置”,专利申请号为CN202520488469.8,授权日为2026年3月3日。
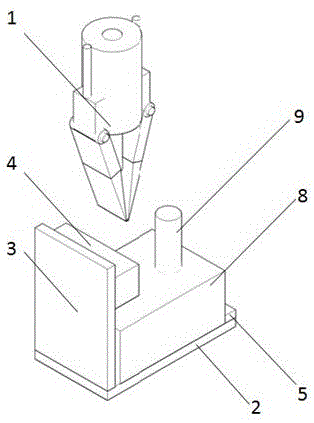
专利摘要:本实用新型涉及一种废旧沥青路面材料破碎筛选装置,包括有安装底座,安装底座上侧连接有导流板,导流板上连接有安装框,安装框内部安装有破碎组件,安装底座上部左右两侧之间连接有筛选板,安装底座上设置有防堵塞机构,防堵塞机构用于清理筛选板。本实用新型通过防堵塞机构,利用第一驱动马达驱动丝杆,并结合传感器反馈控制,使防堵辊能够沿筛选板表面自动往复滚动,从而清理筛孔堵塞的物料,避免机械卡滞,避免频繁停机清理,有利于提高作业连续性。

图片来源于网络,如有侵权,请联系删除
今年以来赣粤高速新获得专利授权3个,较去年同期增加了50%。结合公司2025年中报财务数据,2025上半年公司在研发方面投入了2121.07万元,同比增46.54%。
通过天眼查大数据分析,江西赣粤高速公路股份有限公司共对外投资了16家企业,参与招投标项目1211次;财产线索方面有商标信息18条,专利信息171条,著作权信息48条;此外企业还拥有行政许可41个。
数据来源:天眼查APP
以上内容为证券之星据公开信息整理,由AI算法生成(网信算备310104345710301240019号),不构成投资建议。
