华润江中获得实用新型专利授权:“一种用于装卸筛网架的辅助设备”
作者:小微
发表于:2026年02月24日
浏览量:61041

图片来源于网络,如有侵权,请联系删除
证券之星消息,根据天眼查APP数据显示华润江中(600750)新获得一项实用新型专利授权,专利名为“一种用于装卸筛网架的辅助设备”,专利申请号为CN202520748097.8,授权日为2026年2月24日。
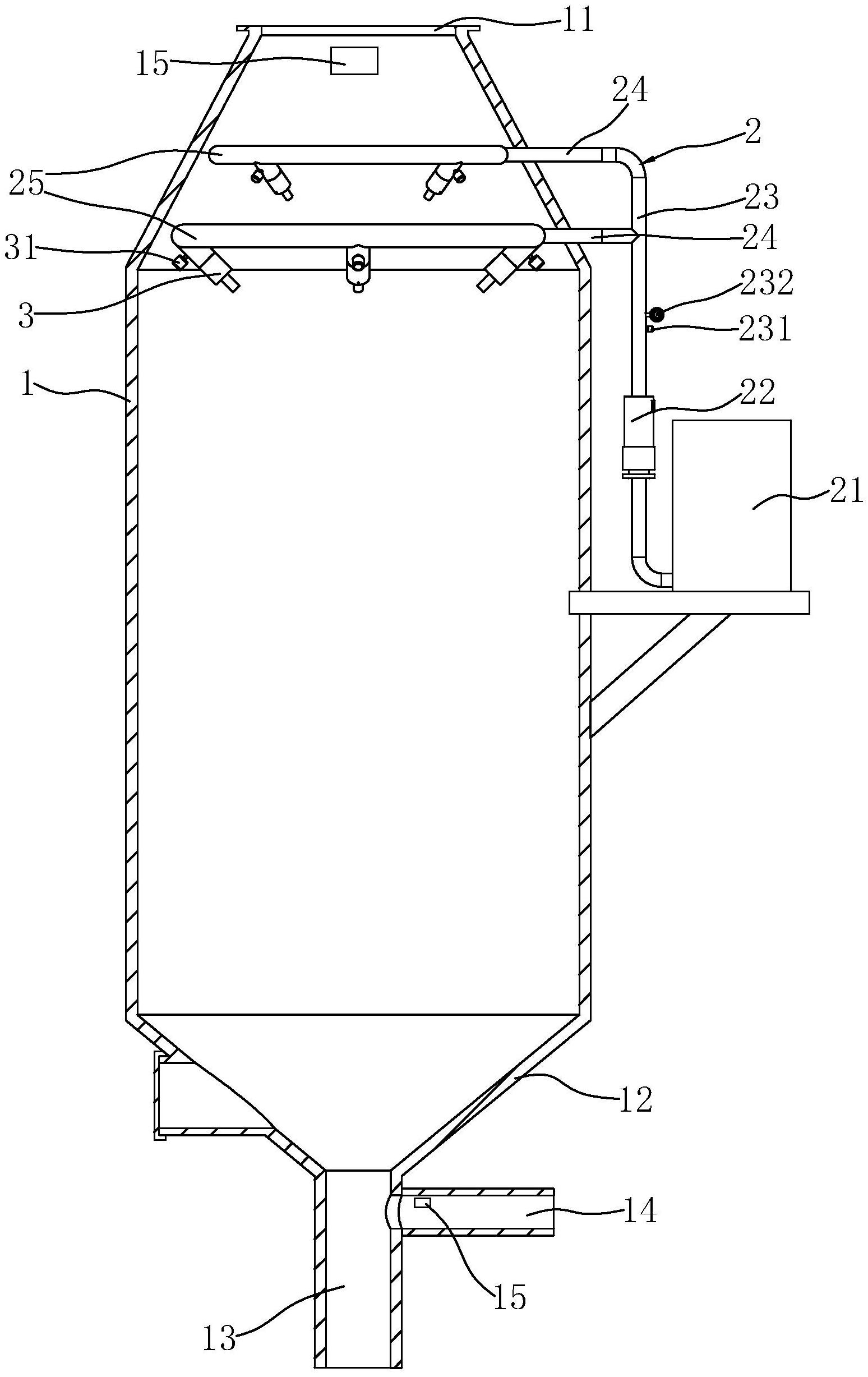
专利摘要:本实用新型提供了一种用于装卸筛网架的辅助设备,涉及筛网架更换技术领域,包括定位组件、升降组件以及感应组件。其中,定位组件用于与下料仓定位配合,从而保证了辅助设备位置正确,保证了安全性。升降组件设于定位组件上,用于升降筛网架,以使筛网架与下料仓抵持或分离,从而降低了劳动强度并提高了安全性。感应组件设于升降组件上,用于感应升降组件在升降过程中产生的压力变化,从而判断是否已与筛网架或下料仓抵持,确保设备运行状态始终处于受控范围内。即,三个组件相互配合,形成一个完整的系统,共同确保筛网架装卸过程的安全性、准确性和高效性。

图片来源于网络,如有侵权,请联系删除
今年以来华润江中新获得专利授权8个,较去年同期增加了33.33%。结合公司2025年中报财务数据,2025上半年公司在研发方面投入了6742.93万元,同比减1.79%。

图片来源于网络,如有侵权,请联系删除
通过天眼查大数据分析,华润江中药业股份有限公司共对外投资了21家企业,参与招投标项目7535次;财产线索方面有商标信息1459条,专利信息723条,著作权信息56条;此外企业还拥有行政许可168个。
数据来源:天眼查APP
以上内容为证券之星据公开信息整理,由AI算法生成(网信算备310104345710301240019号),不构成投资建议。
