华昌达获得发明专利授权:“一种车辆驾驶室吊具、整车装配系统和工件吊具”
作者:小微
发表于:2026年02月18日
浏览量:60876

图片来源于网络,如有侵权,请联系删除
证券之星消息,根据天眼查APP数据显示华昌达(300278)新获得一项发明专利授权,专利名为“一种车辆驾驶室吊具、整车装配系统和工件吊具”,专利申请号为CN202310346950.9,授权日为2026年2月17日。
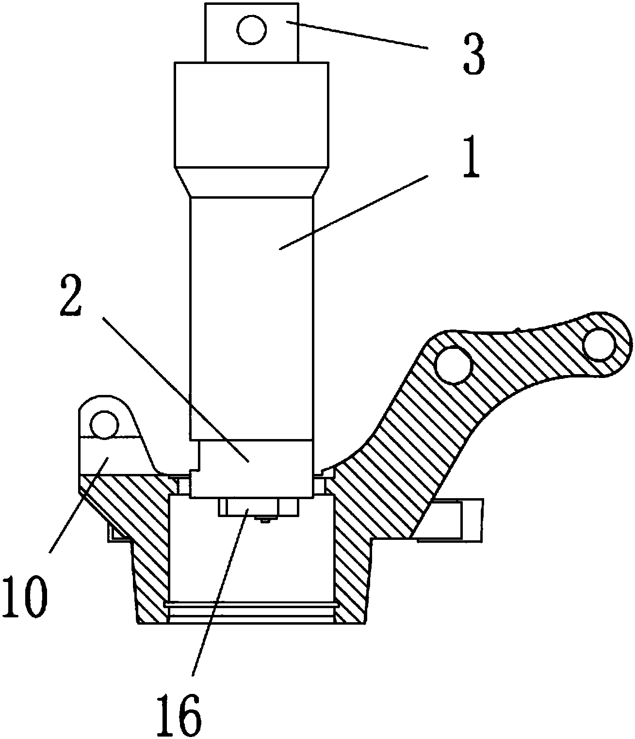
专利摘要:本申请公开了一种车辆驾驶室吊具,包括:承载架、第一吊臂和第二吊臂;第一吊臂的固定端固定设置在承载架的一端,第一吊臂的第一承载端沿水平方向布置,并与车辆驾驶室的前侧的指定位置连接;第二吊臂的移动端相对第一吊臂的固定端活动设置在承载架的另一端,并可根据车辆驾驶室的长度自调整到承载架的相应位置,第二吊臂的第二承载端沿水平方向相对第一承载端布置,并与车辆驾驶室的后端的指定位置连接;车辆驾驶室的前侧、后侧以车辆驾驶室的长度方向限定。本申请第一吊臂和第二吊臂未装配于车辆驾驶室的车门侧,使得第一吊臂和第二吊臂不与车门直接接触,从而避免造成车门或车门装载架变形,消除车门闭合后存在间隙,进而提升车身质量。
今年以来华昌达新获得专利授权2个,与去年同期持平。结合公司2025年中报财务数据,2025上半年公司在研发方面投入了1632.36万元,同比减5.2%。
通过天眼查大数据分析,华昌达智能装备集团股份有限公司共对外投资了9家企业,参与招投标项目24次;财产线索方面有商标信息7条,专利信息172条,著作权信息11条;此外企业还拥有行政许可5个。
数据来源:天眼查APP
以上内容为证券之星据公开信息整理,由AI算法生成(网信算备310104345710301240019号),不构成投资建议。
