中国石油获得发明专利授权:“一种直井无限级油管压裂管柱工艺及实现方法”
作者:小微
发表于:2026年02月04日
浏览量:73753

图片来源于网络,如有侵权,请联系删除
证券之星消息,根据天眼查APP数据显示中国石油(601857)新获得一项发明专利授权,专利名为“一种直井无限级油管压裂管柱工艺及实现方法”,专利申请号为CN202311022685.5,授权日为2026年2月3日。
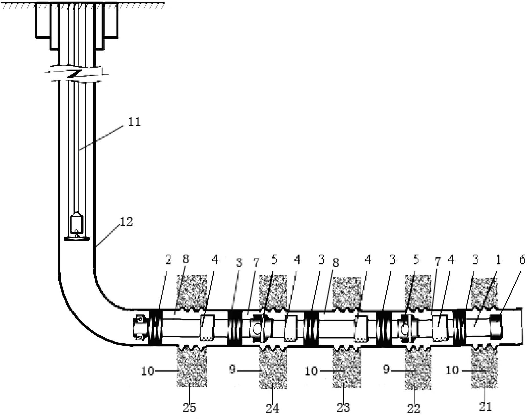
专利摘要:本发明提供了一种直井无限级油管压裂管柱工艺及实现方法,属于油田完井压裂装置技术领域。本发明压井阀位于最上端,在压井阀下方顺序设置水力锚和封隔器;在两个目的层之间顺序设置无限级压裂滑套、安全丢手接头和封隔器;无限级压裂滑套设置在每个井下目的层处;无限级压裂滑套中包括控制无限级压裂滑套开启的开启工具组件;伸缩管设置在每个目的层的封隔器与下一目的层的无限级压裂滑套之间;在最靠近人工井底的目的层上方设置坐封球座,坐封球座能够提供坐封时的憋压条件。本发明解决了现有直井分压管柱工艺技术分压级数、压裂规模受限的问题,同时降低分压管柱坐解封操作难度、具备管柱防砂埋能力,提高分压管柱安全性。

图片来源于网络,如有侵权,请联系删除
今年以来中国石油新获得专利授权262个,较去年同期增加了118.33%。结合公司2025年中报财务数据,2025上半年公司在研发方面投入了98.99亿元,同比增2.51%。

图片来源于网络,如有侵权,请联系删除
通过天眼查大数据分析,中国石油天然气股份有限公司共对外投资了1299家企业,参与招投标项目443次;财产线索方面有商标信息105条,专利信息48254条;此外企业还拥有行政许可168个。
数据来源:天眼查APP
以上内容为证券之星据公开信息整理,由AI算法生成(网信算备310104345710301240019号),不构成投资建议。
