歌尔股份获得发明专利授权:“冲裁模具”
作者:小微
发表于:2026年01月31日
浏览量:54090

图片来源于网络,如有侵权,请联系删除
证券之星消息,根据天眼查APP数据显示歌尔股份(002241)新获得一项发明专利授权,专利名为“冲裁模具”,专利申请号为CN202511431458.7,授权日为2026年1月30日。
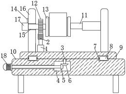
专利摘要:本发明公开一种冲裁模具,涉及冲压模具技术领域,冲裁模具中,压料内芯固定至上模座的中部,凸凹模环设于压料内芯的外部,且能够相对于上模座沿上下方向活动,镶件环设于凸凹模的外侧,镶件的下端凸出压料内芯设置形成冲裁部;凸模与压料内芯对应,凹模固定至下模座,浮动顶台位于凸模和凹模之间且具有上下方向的浮动行程,在浮动顶台的浮动行程中,具有与凸模、凹模平齐的第一位置、以及低于凸模和凹模的第二位置;吹气组件用于在下模组件和上模组件开模后吹气,因废料和成品零件在冲压完成后存在高度落差,在冲裁模具开模后,吹气组件工作,可以将废料吹离,也可以在成品零件上浮后将成品零件吹离。产品稳定性高,生产速度快。

图片来源于网络,如有侵权,请联系删除
今年以来歌尔股份新获得专利授权110个,较去年同期增加了74.6%。结合公司2025年中报财务数据,2025上半年公司在研发方面投入了23.54亿元,同比增15.81%。
通过天眼查大数据分析,歌尔股份有限公司共对外投资了44家企业,参与招投标项目255次;财产线索方面有商标信息172条,专利信息10438条,著作权信息46条;此外企业还拥有行政许可619个。
数据来源:天眼查APP
以上内容为证券之星据公开信息整理,由AI算法生成(网信算备310104345710301240019号),不构成投资建议。
