爱威科技获得实用新型专利授权:“一种加样头输出装置及检测设备”
作者:小微
发表于:2026年01月27日
浏览量:49620

图片来源于网络,如有侵权,请联系删除
证券之星消息,根据天眼查APP数据显示爱威科技(688067)新获得一项实用新型专利授权,专利名为“一种加样头输出装置及检测设备”,专利申请号为CN202423281232.7,授权日为2026年1月27日。
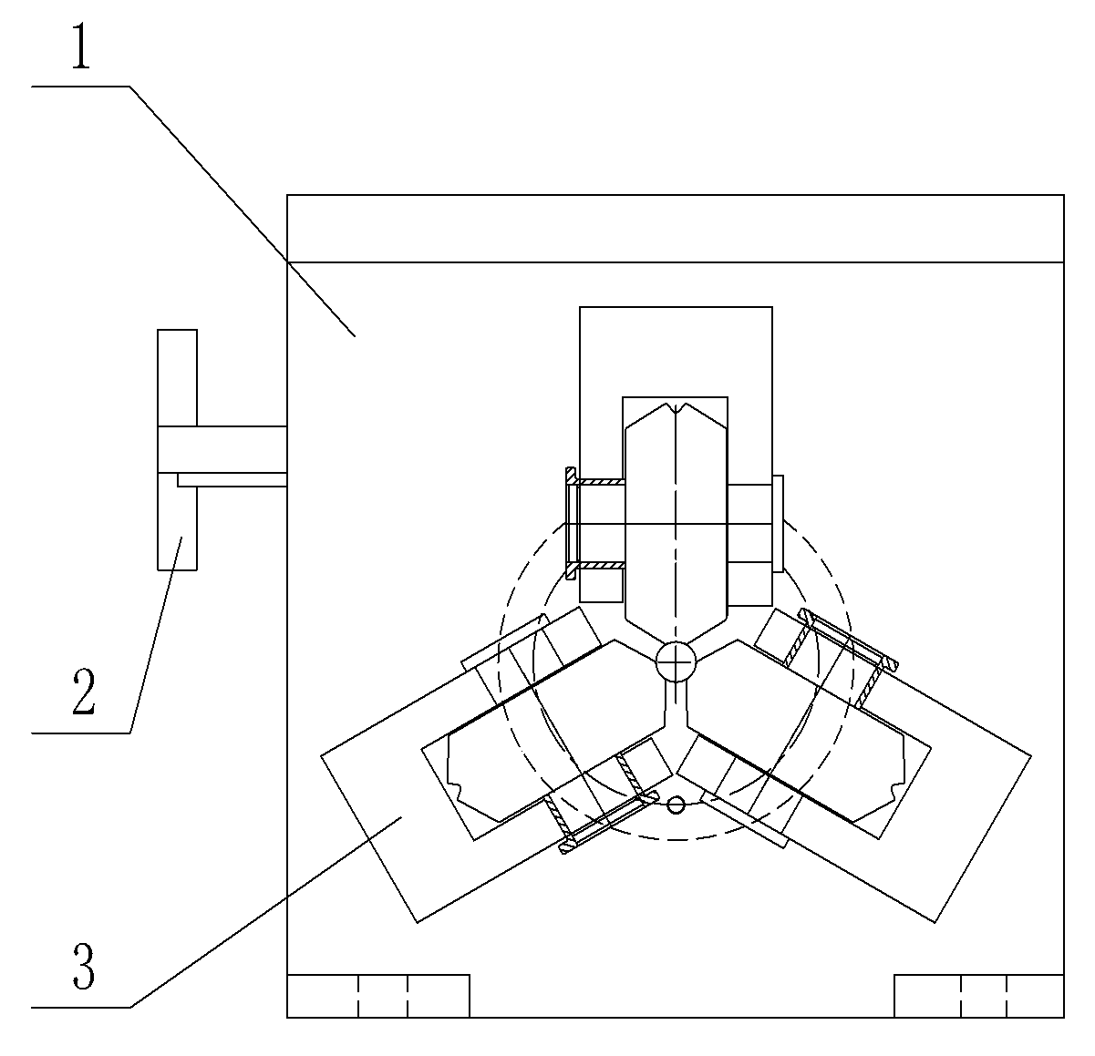
专利摘要:本申请公开了一种加样头输出装置,包括:安装部件、推出机构和传送机构,安装部件用于可拆卸地安装存放盒,存放盒设有开口,多个加样头平行堆叠于存放盒内,且存放盒安装于安装部件时加样头的轴线延伸方向为第一方向;推出机构包括推送部件,推送部件沿第二方向移动,将加样头从开口推送至传送机构;传送机构将加样头导向至装载位,且位于装载位的加样头轴线延伸方向为第三方向;第一方向与第三方向相互垂直。本实用新型提供的加样头输出装置和检测设备,可以实现加样头姿态的转换,与后续结构使用加样头的姿态相配合,为加样头吸取样本液提供便利;并且一次性加样头使用后直接丢弃,可以简化仪器结构,降低或避免交叉污染,保证检测结果的可靠性。
今年以来爱威科技新获得专利授权3个,较去年同期减少了25%。结合公司2025年中报财务数据,2025上半年公司在研发方面投入了1128.21万元,同比增8.52%。
通过天眼查大数据分析,爱威科技股份有限公司共对外投资了4家企业,参与招投标项目648次;财产线索方面有商标信息122条,专利信息321条,著作权信息38条;此外企业还拥有行政许可361个。
数据来源:天眼查APP
以上内容为证券之星据公开信息整理,由AI算法生成(网信算备310104345710301240019号),不构成投资建议。
