格力电器获得实用新型专利授权:“吸顶式空调室内机和空调设备”
作者:小微
发表于:2026年01月24日
浏览量:73847

图片来源于网络,如有侵权,请联系删除
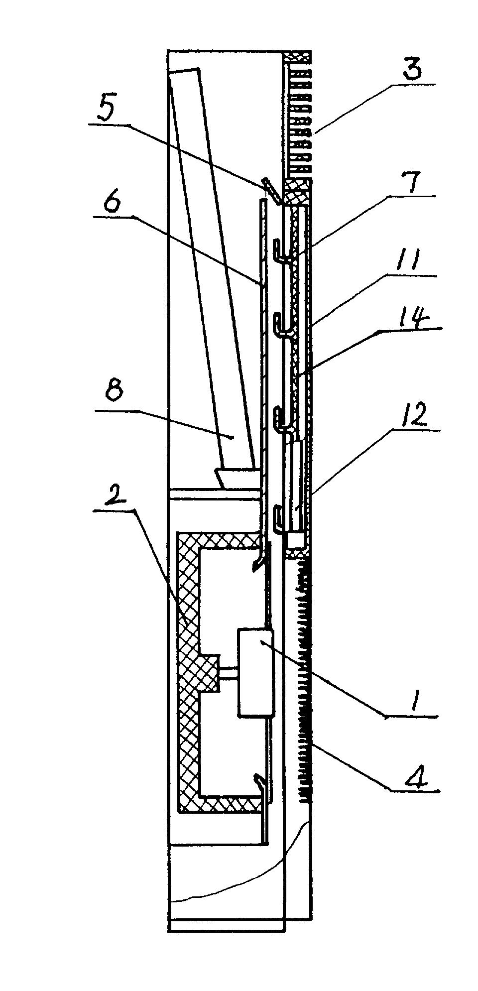
证券之星消息,根据天眼查APP数据显示格力电器(000651)新获得一项实用新型专利授权,专利名为“吸顶式空调室内机和空调设备”,专利申请号为CN202423290217.9,授权日为2026年1月23日。
专利摘要:本实用新型公开了一种吸顶式空调室内机和空调设备,吸顶式空调室内机包括:壳体(1),具有设有风口(12)的底面(14);风机(6),设在所述壳体(1)内;电器盒(2),被配置成可相对于所述壳体(1)运动,以在位于所述底面(14)上方的第一位置和至少部分位于所述底面(14)下方的第二位置之间切换。

图片来源于网络,如有侵权,请联系删除
今年以来格力电器新获得专利授权590个,较去年同期增加了76.12%。结合公司2025年中报财务数据,2025上半年公司在研发方面投入了39.18亿元,同比增10.92%。
通过天眼查大数据分析,珠海格力电器股份有限公司共对外投资了98家企业,参与招投标项目34388次;财产线索方面有商标信息8212条,专利信息120845条,著作权信息299条;此外企业还拥有行政许可908个。
数据来源:天眼查APP
以上内容为证券之星据公开信息整理,由AI算法生成(网信算备310104345710301240019号),不构成投资建议。
