意华股份获得发明专利授权:“一种电连接器组件”
作者:小微
发表于:2025年08月02日
浏览量:67061

图片来源于网络,如有侵权,请联系删除
证券之星消息,根据天眼查APP数据显示意华股份(002897)新获得一项发明专利授权,专利名为“一种电连接器组件”,专利申请号为CN202010869717.5,授权日为2025年8月1日。
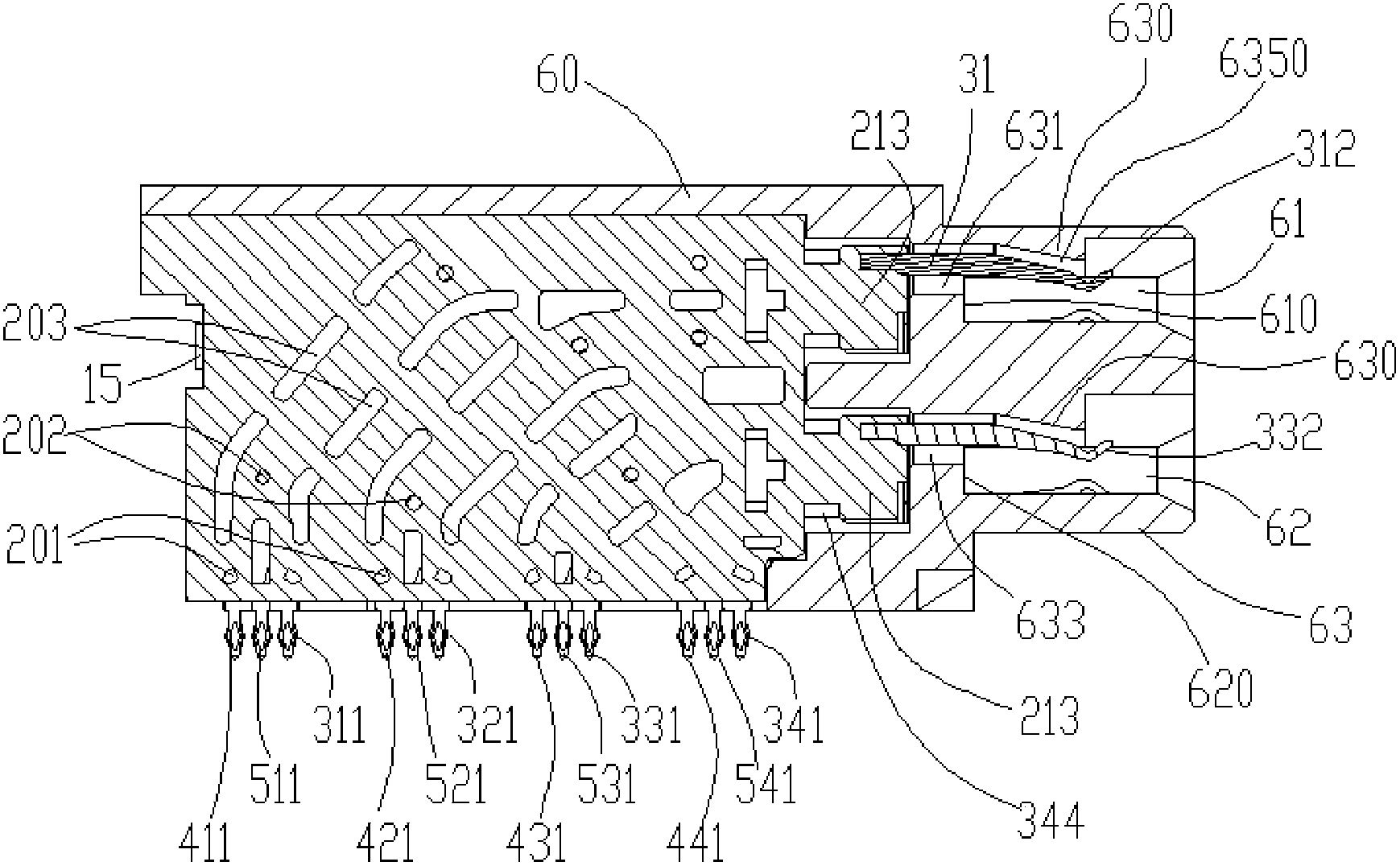
专利摘要:一种电连接器组件,用于固定至对接电路板并与对接连接器实现信号传输,所述电连接器组件包括。信号端子,包括绝缘本体及与所述绝缘本体固定的若干个信号端子。接地端子片,包括本体部及与所述本体部固定的至少一个接地端子。所述绝缘本体与本体部组成本体模块。若干个所述信号端子片与若干个所述接地端子片堆叠设置形成端子模块,至少两个相邻的所述接地端子片之间堆叠设置有两个所述信号端子片。若干个所述信号端子之中至少包括有一对高速差分信号端子。还包括串接件,所述串接件固设于本体模块且露出于本体模块的外表面,所述串接件电连接各所述接地端子片内的至少一个接地端子。具有更好抗干扰能力。

图片来源于网络,如有侵权,请联系删除
今年以来意华股份新获得专利授权18个,较去年同期增加了125%。结合公司2024年年报财务数据,2024年公司在研发方面投入了1.98亿元,同比增3.41%。

图片来源于网络,如有侵权,请联系删除
通过天眼查大数据分析,温州意华接插件股份有限公司共对外投资了14家企业,参与招投标项目13次;财产线索方面有商标信息6条,专利信息442条;此外企业还拥有行政许可16个。
数据来源:天眼查APP
以上内容为证券之星据公开信息整理,由AI算法生成(网信算备310104345710301240019号),不构成投资建议。
