宁德时代获得发明专利授权:“一种卷绕装置及卷绕料材的方法”
作者:小微
发表于:2025年08月02日
浏览量:62662

图片来源于网络,如有侵权,请联系删除
证券之星消息,根据天眼查APP数据显示宁德时代(300750)新获得一项发明专利授权,专利名为“一种卷绕装置及卷绕料材的方法”,专利申请号为CN202210318006.8,授权日为2025年8月1日。
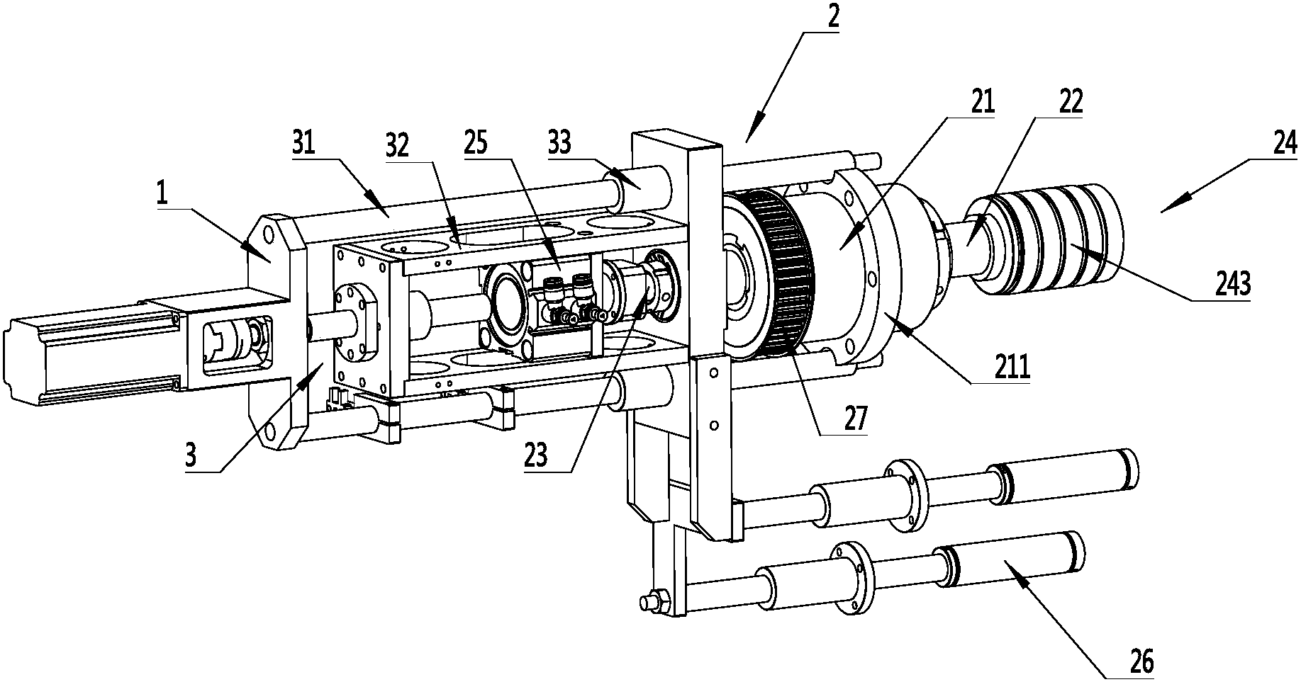
专利摘要:本申请实施例涉及电池制造的技术领域,尤其涉及一种卷绕装置及卷绕料材的方法,其中卷绕装置用于卷绕料材,其包括换卷机构、复合机构和分断机构,其中,换卷机构包括转盘和间隔设于转盘上的多个卷针,料材沿预设路径卷绕于其中一个卷针;复合机构沿预设路径设置于卷针的上游,用于在预设位置将多层料材层叠后复合在一起;分断机构沿预设路径设置于复合机构与任意一个卷针之间,用于将复合后的多层料材从复合区分断。采用本申请实施例提供的卷绕装置和卷绕料材的方法能够防止多层料材在被分断的瞬间及分断之后发生分层,从而避免或减轻多层料材之间错位问题的发生。
今年以来宁德时代新获得专利授权2589个,较去年同期增加了14.91%。结合公司2025年中报财务数据,今年上半年公司在研发方面投入了100.95亿元,同比增17.48%。
通过天眼查大数据分析,宁德时代新能源科技股份有限公司共对外投资了137家企业,参与招投标项目503次;财产线索方面有商标信息1259条,专利信息19488条,著作权信息396条;此外企业还拥有行政许可985个。
数据来源:天眼查APP
以上内容为证券之星据公开信息整理,由AI算法生成(网信算备310104345710301240019号),不构成投资建议。
