田中精机获得发明专利授权:“一种弯折线圈起尾线的绕线治具”
作者:小微
发表于:2025年08月02日
浏览量:53902

图片来源于网络,如有侵权,请联系删除
证券之星消息,根据天眼查APP数据显示田中精机(300461)新获得一项发明专利授权,专利名为“一种弯折线圈起尾线的绕线治具”,专利申请号为CN202510428173.1,授权日为2025年8月1日。
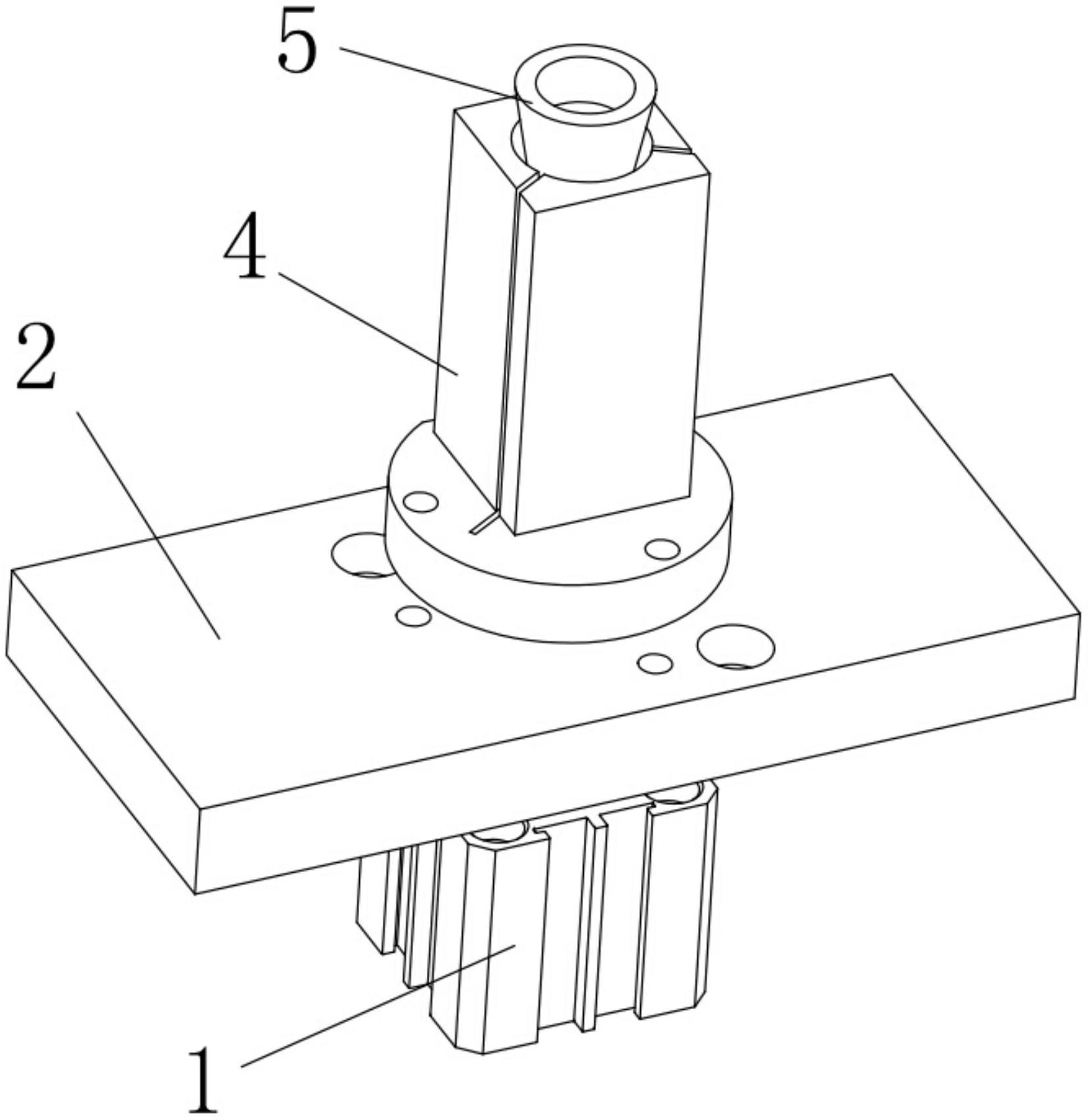
专利摘要:本发明涉及线圈绕线技术领域,特别涉及一种弯折线圈起尾线的绕线治具。所述弯折线圈起尾线的绕线治具,其包括下模机构,上模机构,以及弯折机构。所述下模机构包括下治具座,轴心柱,以及下模驱动轴。所述上模机构包括上治具座,以及线槽。所述线槽的延伸方向从所述上治具座的外侧壁延伸到所述上治具座朝向所述下模机构的端面上。将线圈的起线预藏在所述线槽中,避免绕线时起线影响绕制,同时在弯折起线时使得起线可以直接从所述线槽中移出进行弯折。所述弯折机构包括移动块,挡线柱,推杆,第三弹簧。所述推杆抬起带动所述移动块和设置在所述移动一端的挡线柱上升,在弯折起线和尾线时,起线和尾线以伸出所述下治具座的所述挡线柱为弯折点进行弯折。

图片来源于网络,如有侵权,请联系删除
今年以来田中精机新获得专利授权31个,较去年同期减少了44.64%。结合公司2024年年报财务数据,2024年公司在研发方面投入了2238.33万元,同比减22.2%。

图片来源于网络,如有侵权,请联系删除
通过天眼查大数据分析,浙江田中精机股份有限公司共对外投资了6家企业,参与招投标项目13次;财产线索方面有商标信息5条,专利信息627条,著作权信息12条;此外企业还拥有行政许可12个。
数据来源:天眼查APP
以上内容为证券之星据公开信息整理,由AI算法生成(网信算备310104345710301240019号),不构成投资建议。
