中英科技获得实用新型专利授权:“一种透明天线加工用覆合设备”
作者:小微
发表于:2025年08月01日
浏览量:64950

图片来源于网络,如有侵权,请联系删除
证券之星消息,根据天眼查APP数据显示中英科技(300936)新获得一项实用新型专利授权,专利名为“一种透明天线加工用覆合设备”,专利申请号为CN202422274967.0,授权日为2025年8月1日。
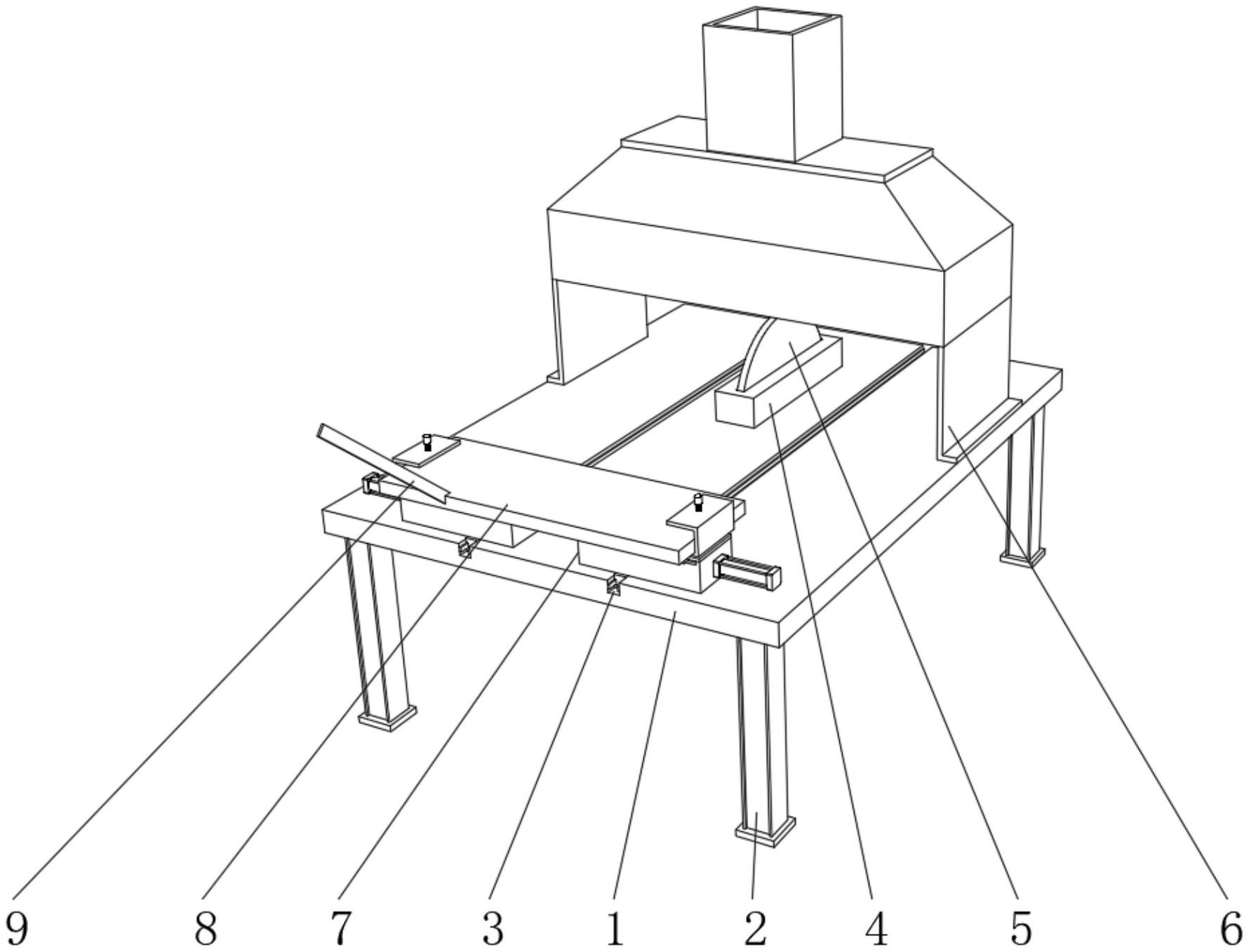
专利摘要:本实用新型涉及透明天线技术领域,公开了一种透明天线加工用覆合设备,包括两个固定板,两个固定板相对设置的一侧转动安装有两个输送辊,两个输送辊的外壁传动安装有输送带,两个固定板的上端分别固定连接有支撑板,两个支撑板的上侧面分别开设有收辊槽,位于收辊槽内部的支撑板的内壁卡接有第一放膜辊,位于输送带上方的支撑板的内壁转动安装有压辊,压辊的外壁固定套设有橡胶套,通过放膜机构可以对无胶导电膜筒起到放膜的作用,而无胶导电膜上可以放置不同组金属格栅网,从而第一放膜辊上可以放置有胶导电膜,从而有胶导电膜、无胶导电膜和金属格栅物被压辊覆合,继而成组的透明天线可以被外接裁切设备剪裁,继而加快透明天线的覆合效率。

图片来源于网络,如有侵权,请联系删除
今年以来中英科技新获得专利授权5个,与去年同期持平。结合公司2024年年报财务数据,2024年公司在研发方面投入了1568.71万元,同比增6.5%。
通过天眼查大数据分析,常州中英科技股份有限公司共对外投资了6家企业,参与招投标项目7次;财产线索方面有商标信息10条,专利信息82条;此外企业还拥有行政许可8个。
数据来源:天眼查APP
以上内容为证券之星据公开信息整理,由AI算法生成(网信算备310104345710301240019号),不构成投资建议。
