美的集团获得发明专利授权:“连通阀、回水阀、压力阀组件及供水系统”
作者:小微
发表于:2025年07月26日
浏览量:49329

图片来源于网络,如有侵权,请联系删除
证券之星消息,根据天眼查APP数据显示美的集团(000333)新获得一项发明专利授权,专利名为“连通阀、回水阀、压力阀组件及供水系统”,专利申请号为CN202110493991.1,授权日为2025年7月25日。
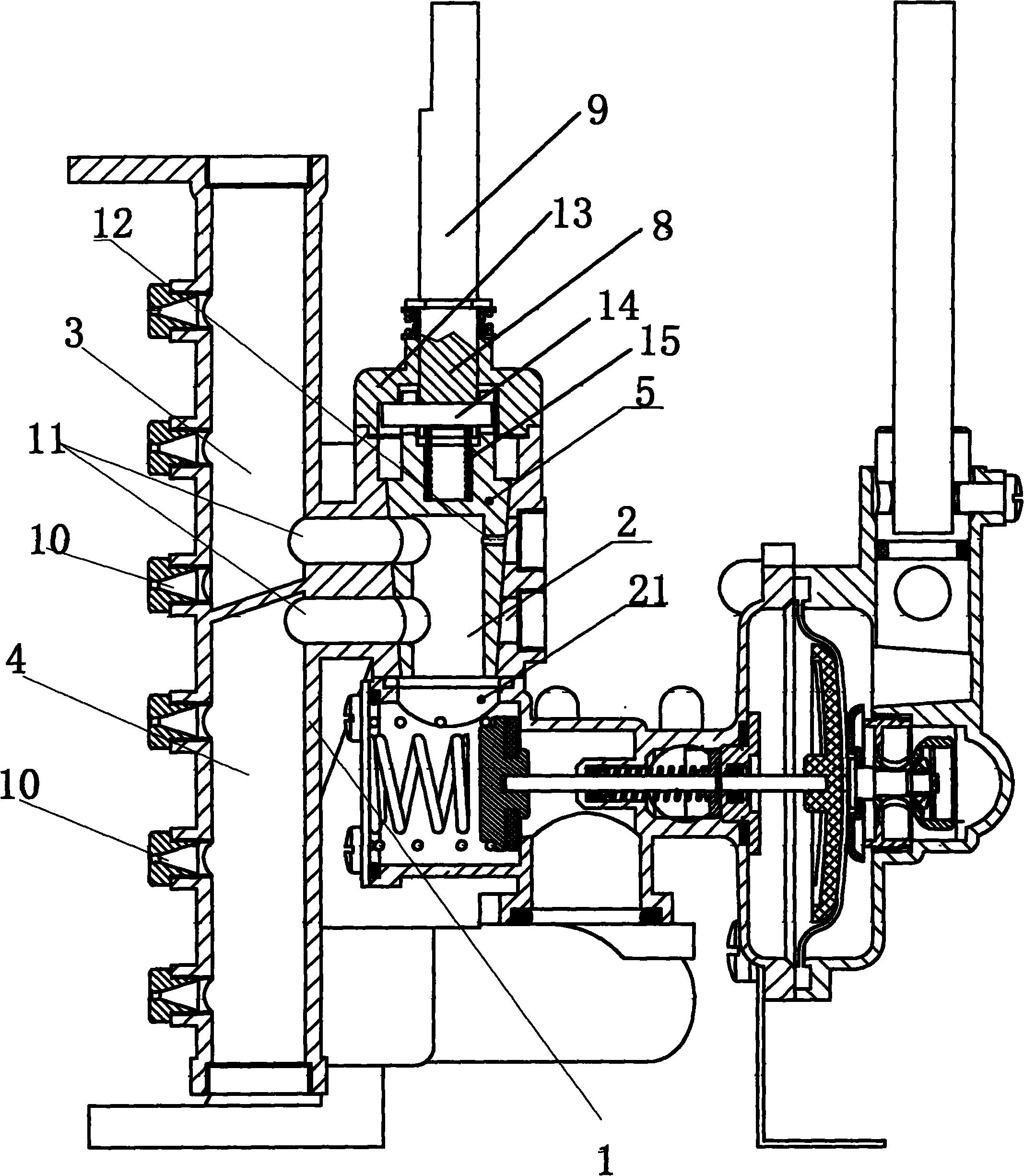
专利摘要:本发明公开一种连通阀、回水阀、压力阀组件及供水系统。所述回水阀包括阀体和泄压阀。所述阀体设有热水流道、冷水流道、单向流道及泄压流道;所述热水流道包括进水腔、连通腔及出水腔,所述连通腔的进水口和出水口分别用于与所述进水腔、所述出水腔连通;所述单向流道将所述连通腔与冷水流道连通;所述泄压流道将所述出水腔和所述单向流道连通。所述泄压阀设于所述泄压流道,所述泄压阀适用于在将所述泄压流道导通的泄压位置,以及将所述泄压流道关闭的关闭位置之间切换。本发明的回水阀,可以解决供水系统使用冷水模式时热水流道内的水串流到冷水流道的问题。

图片来源于网络,如有侵权,请联系删除
今年以来美的集团新获得专利授权1700个,较去年同期减少了13.4%。结合公司2024年年报财务数据,2024年公司在研发方面投入了162.33亿元,同比增11.31%。
通过天眼查大数据分析,美的集团股份有限公司共对外投资了128家企业,参与招投标项目4366次;财产线索方面有商标信息9742条,专利信息65817条,著作权信息124条;此外企业还拥有行政许可84个。
数据来源:天眼查APP
以上内容为证券之星据公开信息整理,由AI算法生成(网信算备310104345710301240019号),不构成投资建议。
