箭牌家居获得发明专利授权:“一种高温截止阀”
作者:小微
发表于:2025年07月26日
浏览量:61201

图片来源于网络,如有侵权,请联系删除
证券之星消息,根据天眼查APP数据显示箭牌家居(001322)新获得一项发明专利授权,专利名为“一种高温截止阀”,专利申请号为CN202310269619.1,授权日为2025年7月25日。
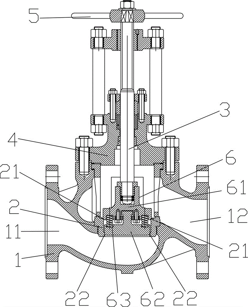
专利摘要:本发明公开了一种高温截止阀,包括阀体、封堵阀芯、支撑弹簧和记忆合金弹簧,所述阀体设有出水口、进水口和阀腔,所述进水口、阀腔和出水口依次连通;其中,所述封堵阀芯包括主体架、设于所述主体架上的堵头和驱动板,所述堵头与所述出水口相对应设置,所述驱动板夹于所述支撑弹簧和记忆合金弹簧之间;所述堵头的侧壁设有缺口,以在所述堵头的侧壁与出水口的内壁接触密封后形成用于泄压的泄压通道;所述堵头的一端设有用于限制所述堵头晃动的稳流部,所述稳流部处于所述出水口内。采用本发明,结构简单、阀芯稳定,截停高温水流的反应速度,且可避免阀体内部压力过高。

图片来源于网络,如有侵权,请联系删除
今年以来箭牌家居新获得专利授权342个,较去年同期增加了7.89%。结合公司2024年年报财务数据,2024年公司在研发方面投入了3.72亿元,同比增8.84%。

图片来源于网络,如有侵权,请联系删除
通过天眼查大数据分析,箭牌家居集团股份有限公司共对外投资了24家企业,参与招投标项目246次;财产线索方面有商标信息376条,专利信息3249条,著作权信息67条;此外企业还拥有行政许可95个。
数据来源:天眼查APP
以上内容为证券之星据公开信息整理,由AI算法生成(网信算备310104345710301240019号),不构成投资建议。
