全柴动力获得实用新型专利授权:“一种新型带塑料镶块型拨叉结构”
作者:小微
发表于:2025年07月22日
浏览量:65628

图片来源于网络,如有侵权,请联系删除
证券之星消息,根据天眼查APP数据显示全柴动力(600218)新获得一项实用新型专利授权,专利名为“一种新型带塑料镶块型拨叉结构”,专利申请号为CN202422624800.2,授权日为2025年7月22日。
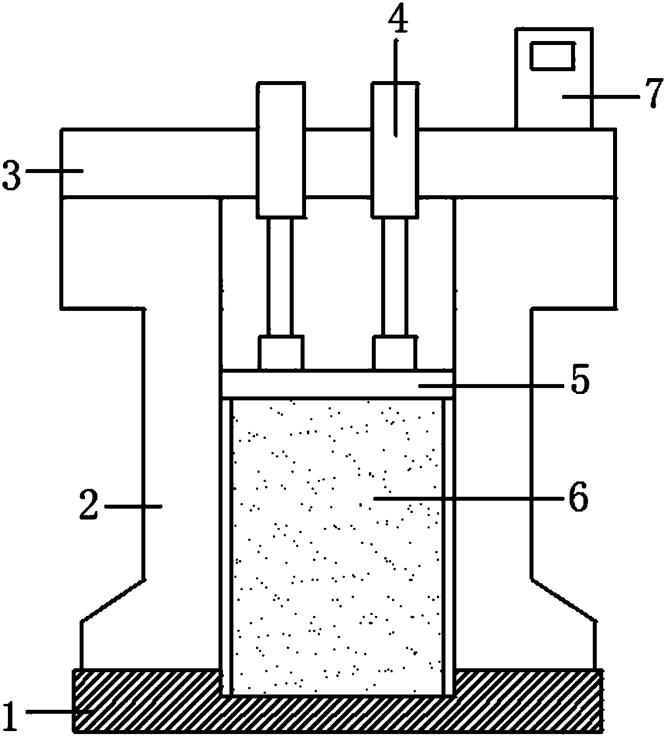
专利摘要:本实用新型涉及拨叉技术领域,具体涉及一种新型带塑料镶块型拨叉结构,包括拔叉,还包括:镶块,所述镶块呈工字型设置;所述拔叉上的叉脚两侧分别开设有安装槽,所述安装槽与镶块相适配;所述镶块上开设有第一开孔,所述第一开孔内转动连接有固定器,所述叉脚上还设置有与安装槽连通的第二开孔,所述固定器穿过第一开孔伸入第二开孔内,以将镶块锁止于安装槽内。通过设置的固定器,在将镶块安装于安装槽内时,固定器穿过第一开孔并伸入第二开孔内,镶块沿着固定器移动至安装槽内,不会产生倾斜;并且固定器对镶块的移动进行限位,使得镶块保持于安装槽内,从而保护拔叉的叉脚,提升换挡时的平顺性。

图片来源于网络,如有侵权,请联系删除
今年以来全柴动力新获得专利授权27个,较去年同期增加了28.57%。结合公司2024年年报财务数据,2024年公司在研发方面投入了1.64亿元,同比减12.95%。

图片来源于网络,如有侵权,请联系删除
通过天眼查大数据分析,安徽全柴动力股份有限公司共对外投资了16家企业,参与招投标项目1847次;财产线索方面有商标信息35条,专利信息824条,著作权信息17条;此外企业还拥有行政许可106个。
数据来源:天眼查APP
以上内容为证券之星据公开信息整理,由AI算法生成(网信算备310104345710301240019号),不构成投资建议。
