隆盛科技获得实用新型专利授权:“一种电感式位置检测的电子节气门控制器”
作者:小微
发表于:2025年07月18日
浏览量:65307

图片来源于网络,如有侵权,请联系删除
证券之星消息,根据天眼查APP数据显示隆盛科技(300680)新获得一项实用新型专利授权,专利名为“一种电感式位置检测的电子节气门控制器”,专利申请号为CN202423033547.X,授权日为2025年7月18日。
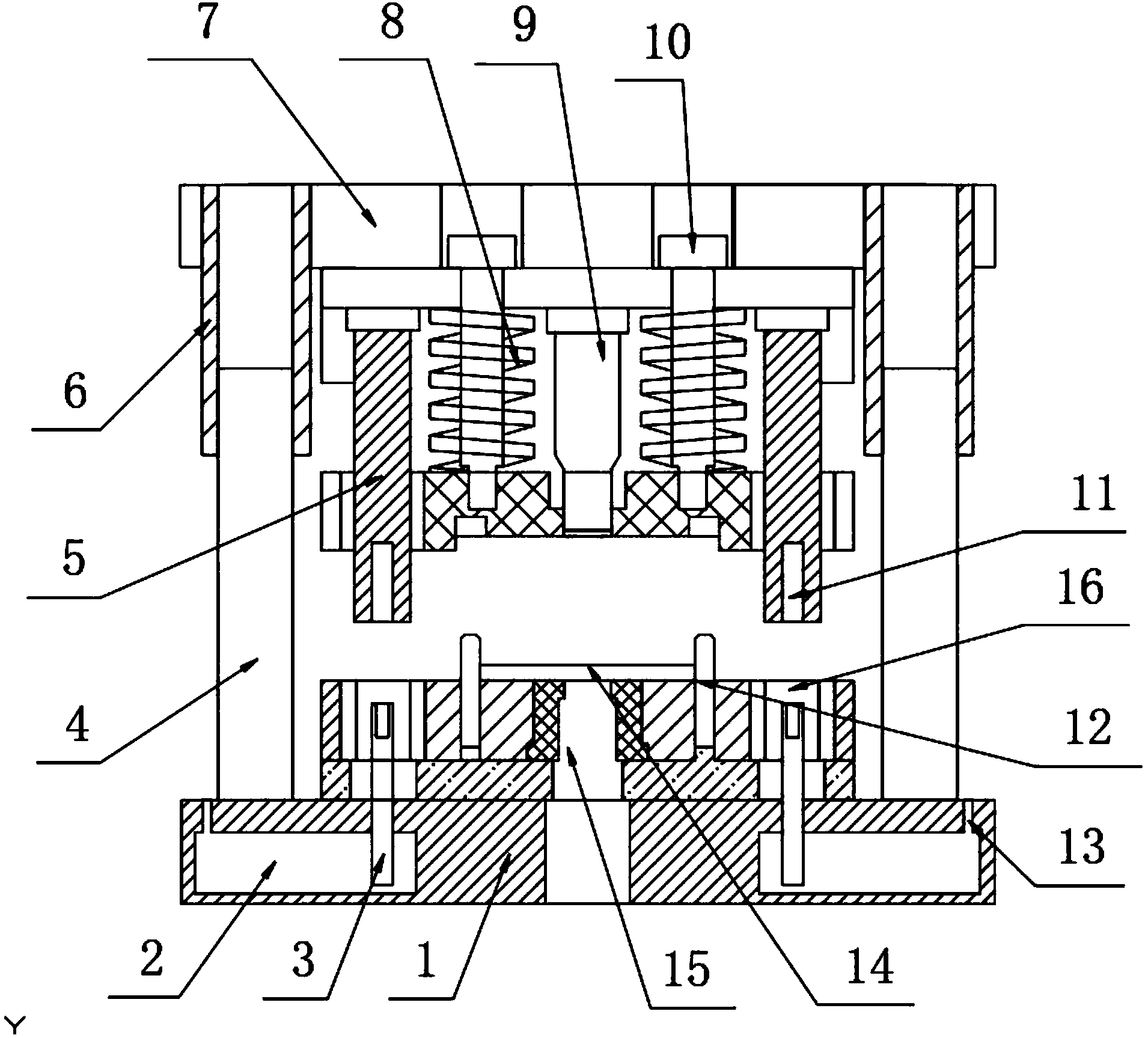
专利摘要:本实用新型公开了一种电感式位置检测的电子节气门控制器,包括设置在控制器内部的PCB板以及设置在电子节气门的阀片中心轴上、配合PCB板使用的金属动片;所述PCB板上设置有电感式传感器芯片、发射线圈、接收线圈、输入接口和输出接口;输入接口与外部电源连接并向电感式传感器芯片供电;接收线圈与电感式传感器芯片的输入端连接,电感式传感器芯片的输出端与输出接口连接,输出接口与信号接收装置连接;金属动片分别与PCB板上的发射线圈、接收线圈对应设置;本实用新型克服了车辆系统中杂散磁场的干扰,保证了输出信号的稳定性,增强了抗干扰能力,而且不需要使用额外的磁钢配合,通过金属动片可以与PCB板的配合,降低了成本。
今年以来隆盛科技新获得专利授权21个,较去年同期减少了32.26%。结合公司2024年年报财务数据,2024年公司在研发方面投入了9285.85万元,同比增25.31%。
通过天眼查大数据分析,无锡隆盛科技股份有限公司共对外投资了15家企业,参与招投标项目8次;财产线索方面有商标信息4条,专利信息648条,著作权信息12条;此外企业还拥有行政许可27个。
数据来源:天眼查APP
以上内容为证券之星据公开信息整理,由AI算法生成(网信算备310104345710301240019号),不构成投资建议。
