浙江永强获得实用新型专利授权:“一种小包装快速组装帐篷”
作者:小微
发表于:2025年07月16日
浏览量:49741

图片来源于网络,如有侵权,请联系删除
证券之星消息,根据天眼查APP数据显示浙江永强(002489)新获得一项实用新型专利授权,专利名为“一种小包装快速组装帐篷”,专利申请号为CN202421882179.3,授权日为2025年7月15日。
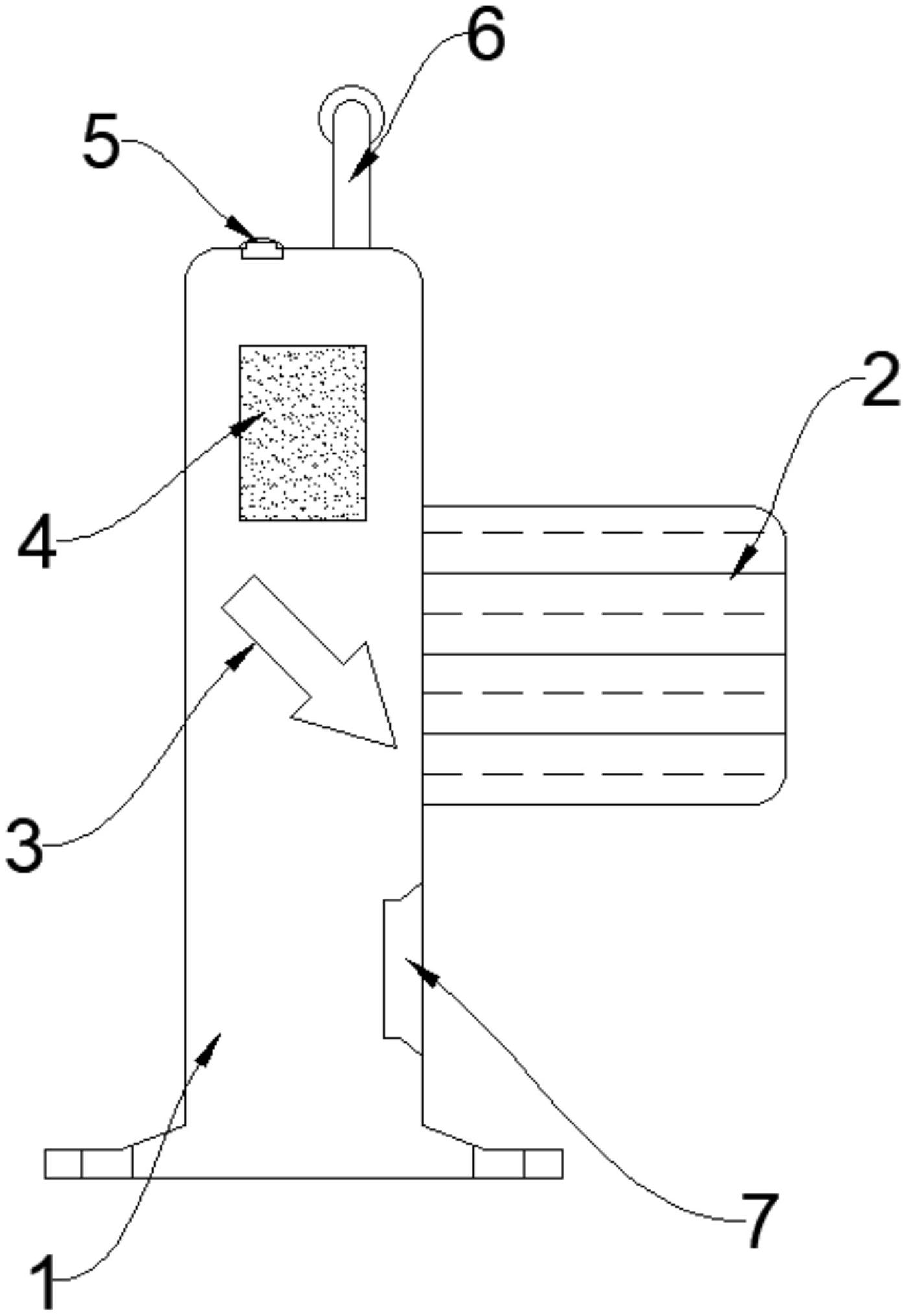
专利摘要:本实用新型属于帐篷技术领域,公开了一种小包装快速组装帐篷,包括立柱、圈梁、穿布管和伞骨,所述立柱固定安装在地面上,所述圈梁连接在相邻的立柱上端之间,所述伞骨支撑在圈梁与立柱上端,所述穿布管固定安装在圈梁内侧,所述立柱和圈梁均分为两段,所述立柱包括立柱一、立柱二和脚管包件,立柱一上端和立柱二下端通过脚管包件连接,所述圈梁包括圈梁一、圈梁二和圈梁包件,所述圈梁一和圈梁二之间采用榫卯结构扣接,然后用圈梁包件遮盖。本实用新型简洁大方,减少螺丝外露,更减少螺栓种类及数量,减少组装时间,提升客户组装体验感,同时将部件分为两段,减少包装体积,降低运输成本,提高收纳空间利用率。

图片来源于网络,如有侵权,请联系删除
今年以来浙江永强新获得专利授权132个,较去年同期增加了9.09%。结合公司2024年年报财务数据,2024年公司在研发方面投入了1.46亿元,同比减12.09%。
通过天眼查大数据分析,浙江永强集团股份有限公司共对外投资了43家企业,参与招投标项目14次;财产线索方面有商标信息148条,专利信息1536条,著作权信息3条;此外企业还拥有行政许可21个。
数据来源:天眼查APP
以上内容为证券之星据公开信息整理,由AI算法生成(网信算备310104345710301240019号),不构成投资建议。
