新兴铸管获得实用新型专利授权:“一种电缆井盖板加锁装置”
作者:小微
发表于:2025年07月16日
浏览量:60834

图片来源于网络,如有侵权,请联系删除
证券之星消息,根据天眼查APP数据显示新兴铸管(000778)新获得一项实用新型专利授权,专利名为“一种电缆井盖板加锁装置”,专利申请号为CN202422358046.2,授权日为2025年7月15日。
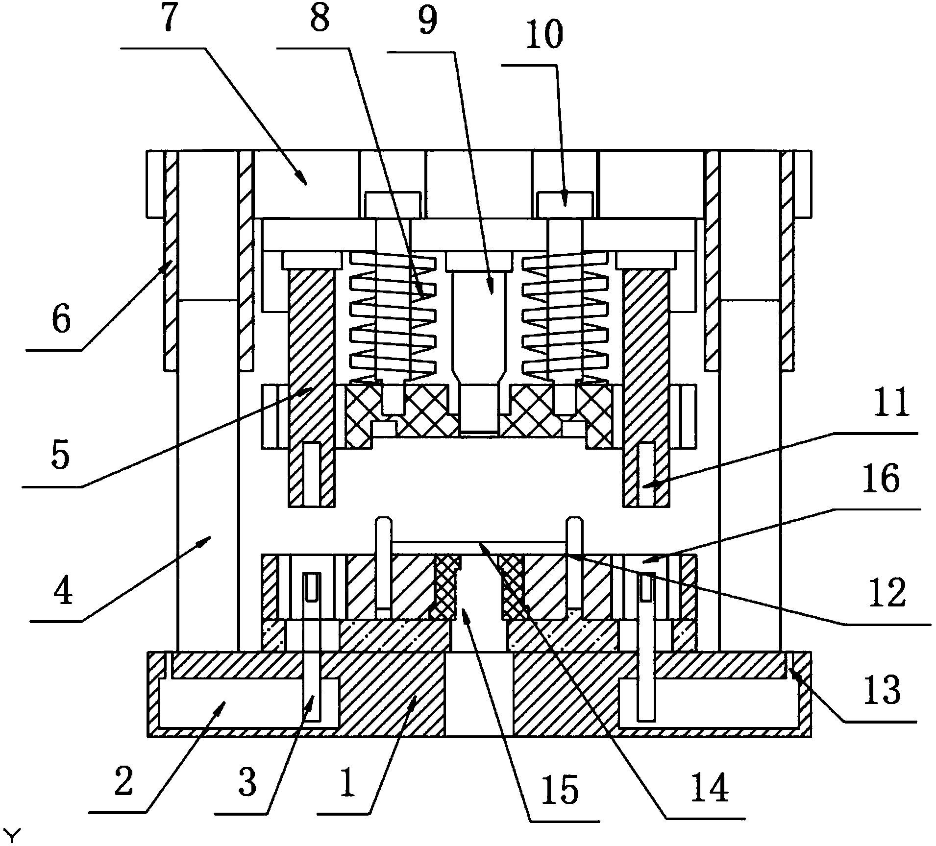
专利摘要:本实用新型涉及井盖加锁技术领域,尤其涉及一种电缆井盖板加锁装置,该一种电缆井盖板加锁装置包括基座框架和盖板,基座框架设于电缆井井口处且与电缆井井口适配,盖板上设有第一锁板,第一锁板上开设有第一锁孔,基座框架上设有与第一锁板对应的第二锁板,第二锁板上开设有与第一锁孔一一对应的第二锁孔,基座框架和盖板通过穿过对应的第一锁孔和第二锁孔的U型锁连接在一起。本实用新型的一种电缆井盖板加锁装置在使用时,结构简单,方便制作,同时避免非授权人员打开电缆井井口的盖板。

图片来源于网络,如有侵权,请联系删除
今年以来新兴铸管新获得专利授权93个,较去年同期增加了257.69%。结合公司2024年年报财务数据,2024年公司在研发方面投入了3.65亿元,同比减3.25%。

图片来源于网络,如有侵权,请联系删除
通过天眼查大数据分析,新兴铸管股份有限公司共对外投资了44家企业,参与招投标项目32721次;财产线索方面有商标信息43条,专利信息3047条,著作权信息68条;此外企业还拥有行政许可73个。
数据来源:天眼查APP
以上内容为证券之星据公开信息整理,由AI算法生成(网信算备310104345710301240019号),不构成投资建议。
