宁德时代公布国际专利申请:“一种电池的注液方法”
作者:小微
发表于:2025年07月12日
浏览量:79852

图片来源于网络,如有侵权,请联系删除
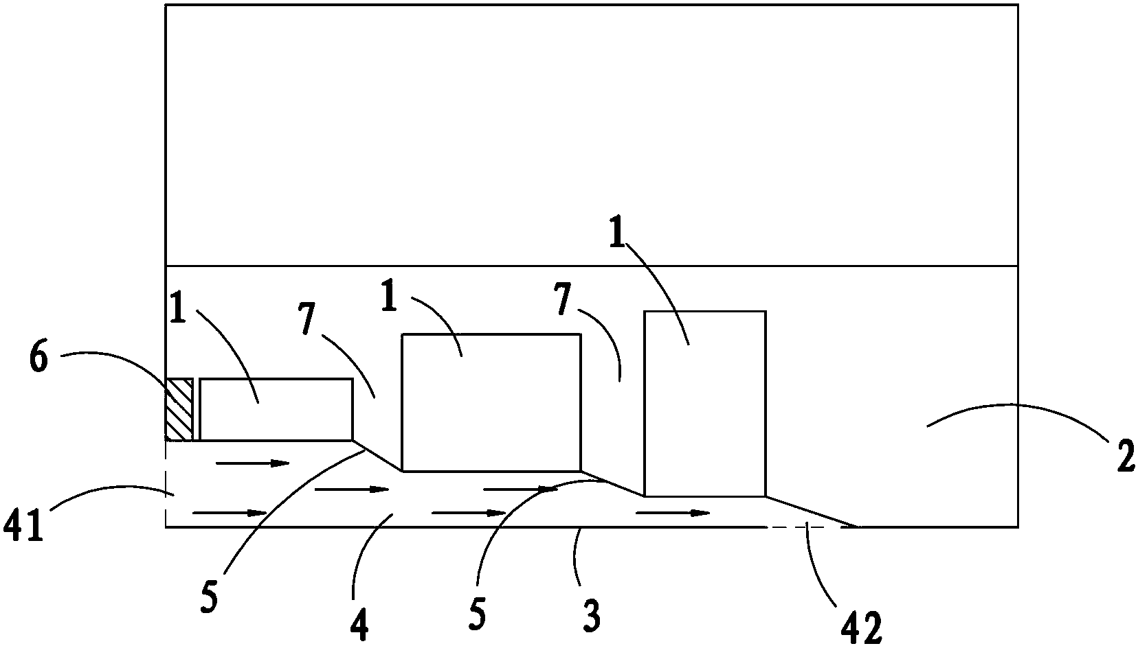
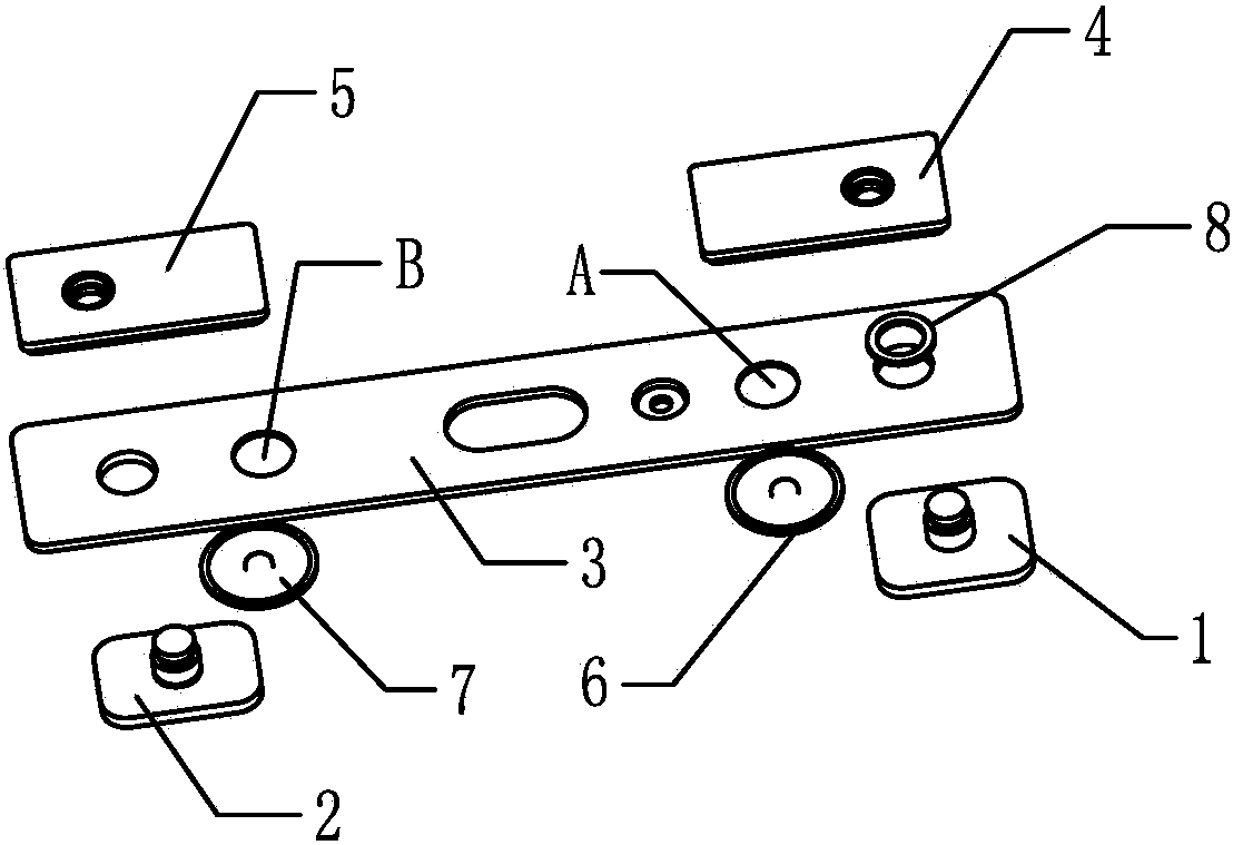
证券之星消息,根据企查查数据显示宁德时代(300750)公布了一项国际专利申请,专利名为“一种电池的注液方法”,专利申请号为PCT/CN2024/113694,国际公布日为2025年7月10日。
专利详情如下:

图片来源于网络,如有侵权,请联系删除
图片来源:世界知识产权组织(WIPO)

图片来源于网络,如有侵权,请联系删除
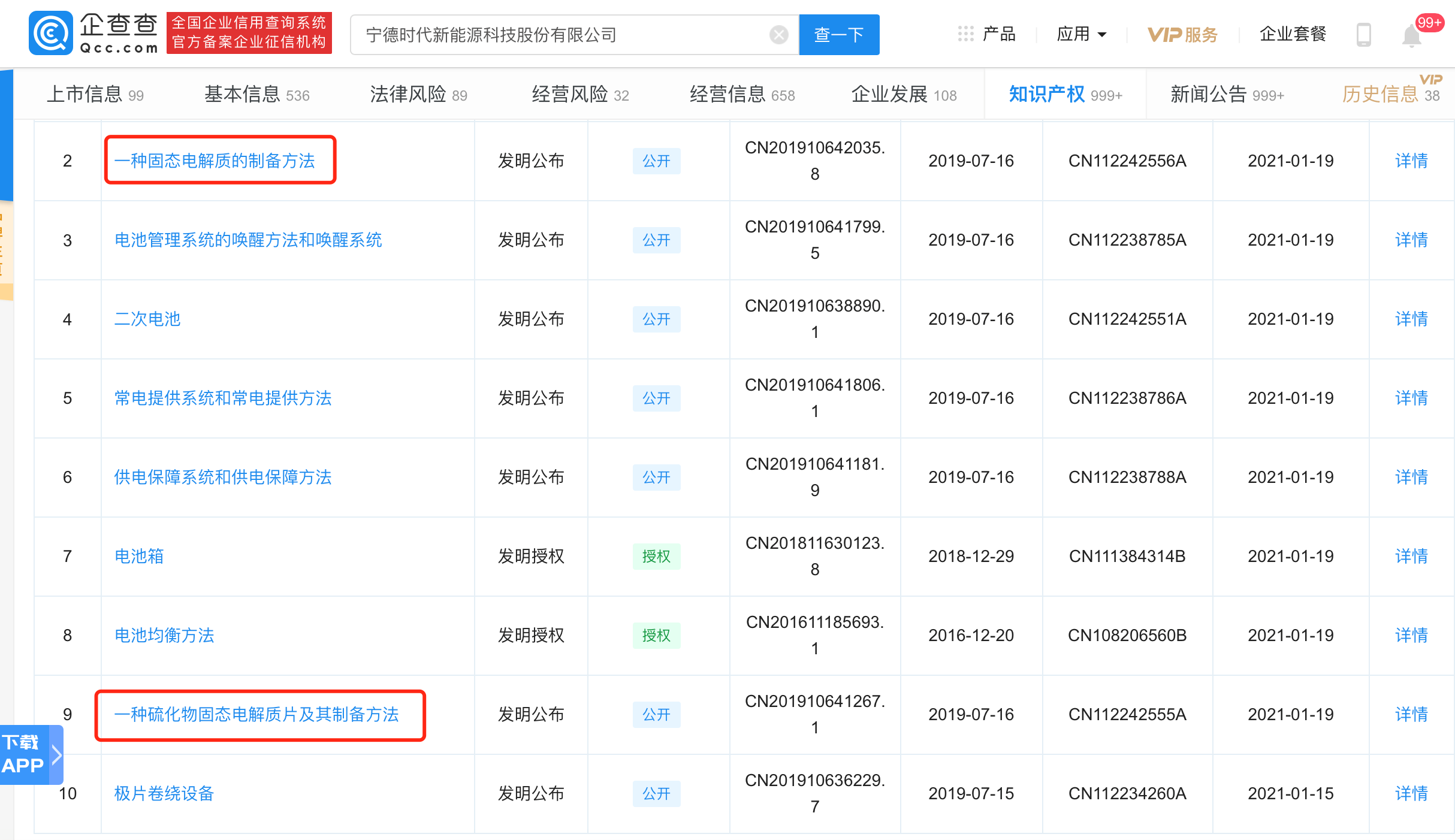
今年以来宁德时代已公布的国际专利申请871个,较去年同期增加了19.32%。结合公司2024年年报财务数据,2024年公司在研发方面投入了186.07亿元,同比增1.37%。
数据来源:企查查
以上内容为证券之星据公开信息整理,由AI算法生成(网信算备310104345710301240019号),不构成投资建议。
