牧原股份获得实用新型专利授权:“一种药品精准投放装置”
作者:小微
发表于:2025年07月12日
浏览量:70007

图片来源于网络,如有侵权,请联系删除
证券之星消息,根据天眼查APP数据显示牧原股份(002714)新获得一项实用新型专利授权,专利名为“一种药品精准投放装置”,专利申请号为CN202421438102.7,授权日为2025年7月11日。
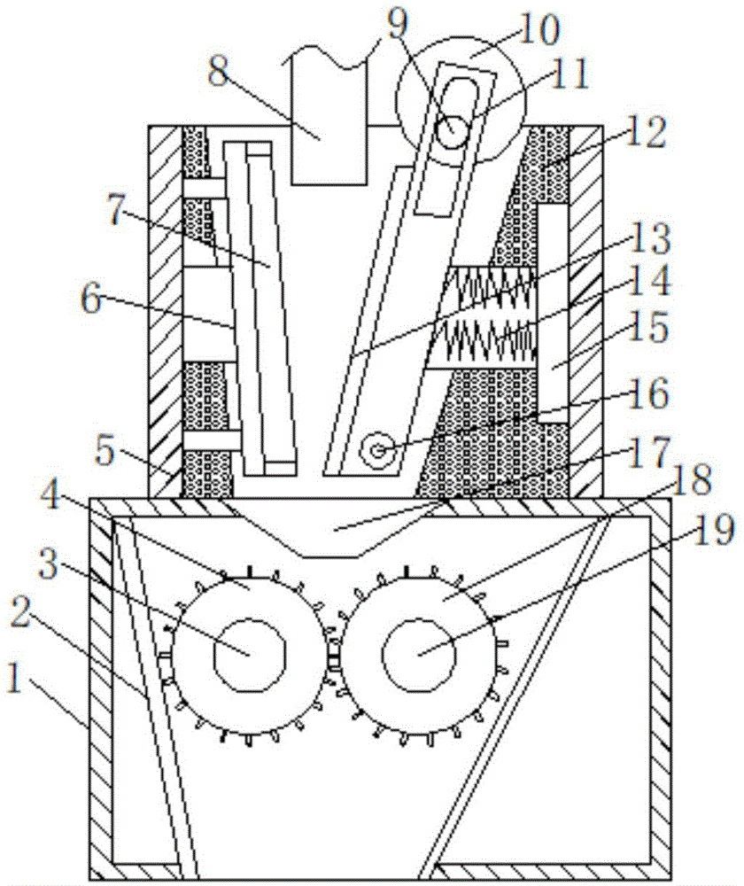
专利摘要:本实用新型属于畜牧养殖技术领域,具体公开了一种药品精准投放装置,包括储存仓、推芯和复位机构,储存仓下部的腔体内设有用于接收药品的推芯,还包括用于使推芯复位的复位机构,复位机构与推芯分别设置在储存仓的两端,储存仓的底部设有下药口;还包括用于调节推芯中的中心通孔容量的调节机构,调节机构安装在推芯上,中心通孔用于暂存药品;根据药品投放数量以当通过调节机构设置完中心通孔的容量后,推动推芯向下药口滑动且推芯在滑动时挤压复位机构,从而使中心通孔与下药口重合,进而中心通孔内的药品通过下药口落入指定位置。本实用新型能有效提高投药效率,确保投放精度,且投在放过程中避免伺养员接触药品表面,提高治疗效果。
今年以来牧原股份新获得专利授权37个,较去年同期增加了5.71%。结合公司2024年年报财务数据,2024年公司在研发方面投入了17.47亿元,同比增5.4%。
通过天眼查大数据分析,牧原食品股份有限公司共对外投资了157家企业,参与招投标项目147次;财产线索方面有商标信息265条,专利信息1479条,著作权信息68条;此外企业还拥有行政许可267个。
数据来源:天眼查APP
以上内容为证券之星据公开信息整理,由AI算法生成(网信算备310104345710301240019号),不构成投资建议。
