威力传动获得实用新型专利授权:“风电减速器的圆螺母防松结构”
作者:小微
发表于:2025年07月05日
浏览量:68842

图片来源于网络,如有侵权,请联系删除
证券之星消息,根据天眼查APP数据显示威力传动(300904)新获得一项实用新型专利授权,专利名为“风电减速器的圆螺母防松结构”,专利申请号为CN202422476470.7,授权日为2025年7月4日。
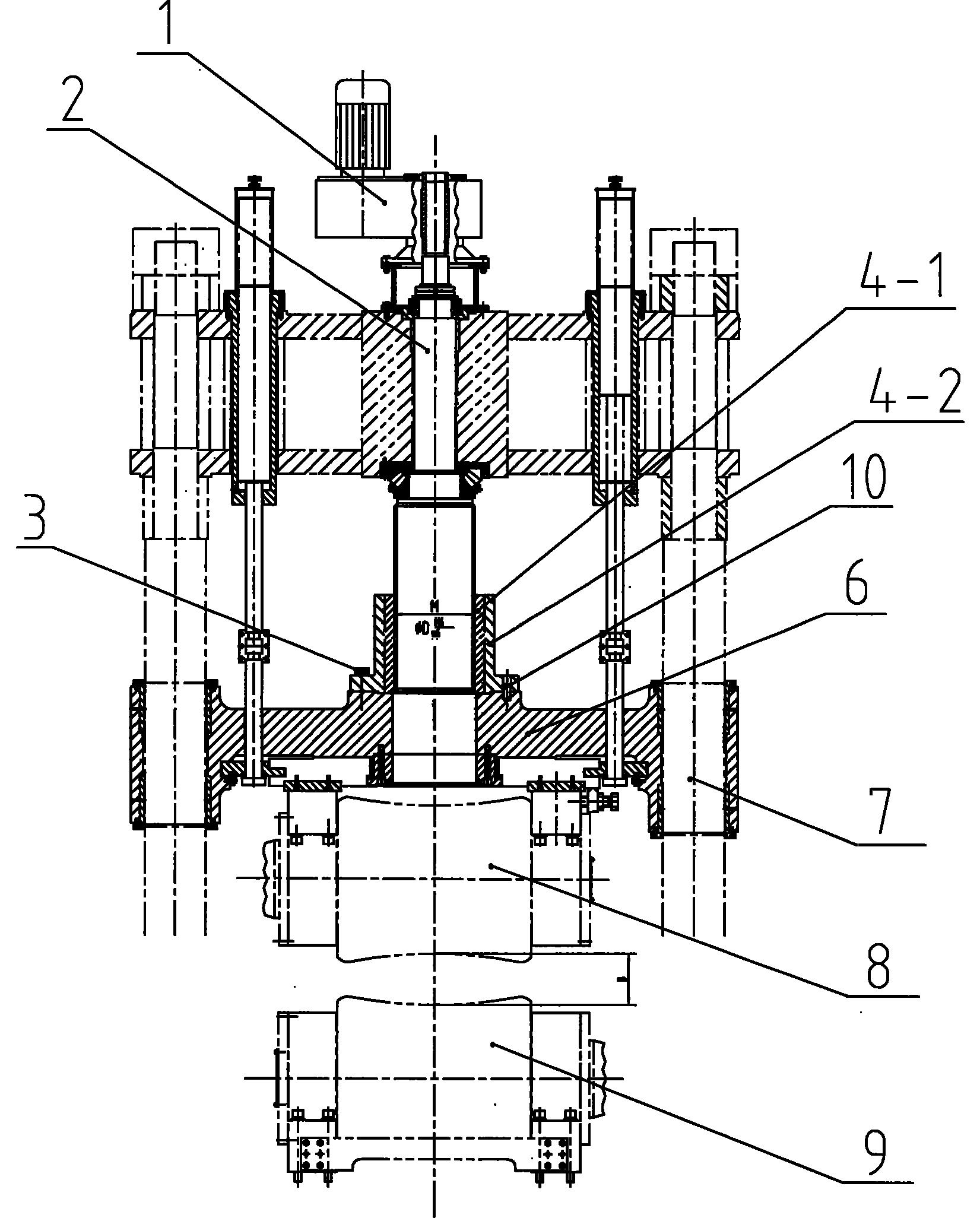
专利摘要:一种风电减速器的圆螺母防松结构,涉及风电减速器技术领域,其能够有效增强输出轴强度,并提高输出轴及圆螺母锁紧可靠性。所述风电减速器的圆螺母防松结构,包括:与行星架通过花键连接的输出轴,输出轴设置有大锥轴承和小锥轴承,且大锥轴承和小锥轴承用于对输出轴进行支撑,并采用非标圆螺母进行锁紧;非标圆螺母为标准圆螺母增加10?12个限位槽制成,且限位槽的加工在螺纹加工之前进行;花键进行滚齿加工,以使输出轴具有圆弧段花键槽,且圆弧段花键槽与非标圆螺母的中间处布置有钢珠。

图片来源于网络,如有侵权,请联系删除
今年以来威力传动新获得专利授权7个,较去年同期减少了73.08%。结合公司2024年年报财务数据,2024年公司在研发方面投入了5134.78万元,同比增20.65%。

图片来源于网络,如有侵权,请联系删除
通过天眼查大数据分析,银川威力传动技术股份有限公司共对外投资了8家企业,参与招投标项目46次;财产线索方面有商标信息28条,专利信息252条,著作权信息16条;此外企业还拥有行政许可48个。
数据来源:天眼查APP
以上内容为证券之星据公开信息整理,由AI算法生成(网信算备310104345710301240019号),不构成投资建议。
