意华股份获得发明专利授权:“一种高速电连接器及生产工艺”
作者:小微
发表于:2025年06月28日
浏览量:63738

图片来源于网络,如有侵权,请联系删除
证券之星消息,根据天眼查APP数据显示意华股份(002897)新获得一项发明专利授权,专利名为“一种高速电连接器及生产工艺”,专利申请号为CN202510371505.7,授权日为2025年6月27日。
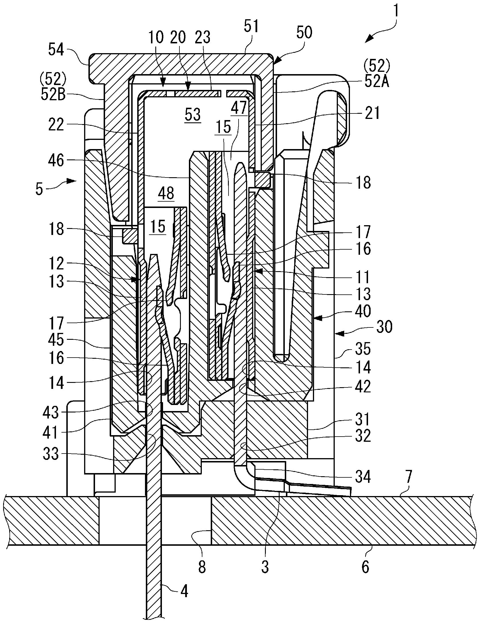
专利摘要:本申请涉及高速电连接器领域,具体公开了一种高速电连接器及生产工艺,其包括壳体以及设置在壳体上的主端子排,还包括共地片,所述共地片与主端子排电连接。本申请具有改善高速电连接器存在高频串扰的问题的效果。

图片来源于网络,如有侵权,请联系删除
今年以来意华股份新获得专利授权14个,较去年同期增加了100%。结合公司2024年年报财务数据,2024年公司在研发方面投入了1.98亿元,同比增3.41%。

图片来源于网络,如有侵权,请联系删除
通过天眼查大数据分析,温州意华接插件股份有限公司共对外投资了14家企业,参与招投标项目12次;财产线索方面有商标信息6条,专利信息427条;此外企业还拥有行政许可16个。
数据来源:天眼查APP
以上内容为证券之星据公开信息整理,由AI算法生成(网信算备310104345710301240019号),不构成投资建议。
