格力电器获得发明专利授权:“过滤件装配结构及吸尘器”
作者:小微
发表于:2025年06月28日
浏览量:49279

图片来源于网络,如有侵权,请联系删除
证券之星消息,根据天眼查APP数据显示格力电器(000651)新获得一项发明专利授权,专利名为“过滤件装配结构及吸尘器”,专利申请号为CN201911219181.6,授权日为2025年6月27日。
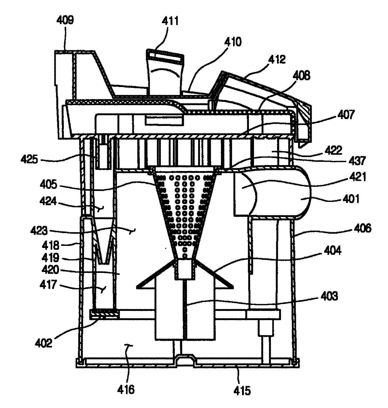
专利摘要:本发明涉及一种过滤件装配结构及吸尘器,包括:过滤件;具有内腔的装配件,所述装配件上开设有与所述内腔连通的开口,所述过滤件的部分从所述开口装配于所述内腔内,所述过滤件与所述内腔的腔壁之间界定形成密封腔;当所述过滤件受到促使其脱离所述装配件的作用力时,所述密封腔与外界空间之间产生促使所述过滤件吸附于所述装配件上的气压差。当过滤件受到促使其脱离装配件的作用力时,密封腔的体积增大,此时密封腔内的压强减少,密封腔与外界空间之间将产生促使过滤件吸附于装配件上的气压差,从而使过滤件不易从装配件上脱离。

图片来源于网络,如有侵权,请联系删除
今年以来格力电器新获得专利授权3283个,较去年同期减少了1.62%。结合公司2024年年报财务数据,2024年公司在研发方面投入了69.04亿元,同比增2.1%。

图片来源于网络,如有侵权,请联系删除
通过天眼查大数据分析,珠海格力电器股份有限公司共对外投资了100家企业,参与招投标项目26607次;财产线索方面有商标信息8132条,专利信息115519条,著作权信息297条;此外企业还拥有行政许可828个。
数据来源:天眼查APP
以上内容为证券之星据公开信息整理,由AI算法生成(网信算备310104345710301240019号),不构成投资建议。
