长城汽车获得实用新型专利授权:“一种车载显示屏和车辆”
作者:小微
发表于:2025年06月27日
浏览量:59441

图片来源于网络,如有侵权,请联系删除
证券之星消息,根据天眼查APP数据显示长城汽车(601633)新获得一项实用新型专利授权,专利名为“一种车载显示屏和车辆”,专利申请号为CN202422122511.2,授权日为2025年6月27日。
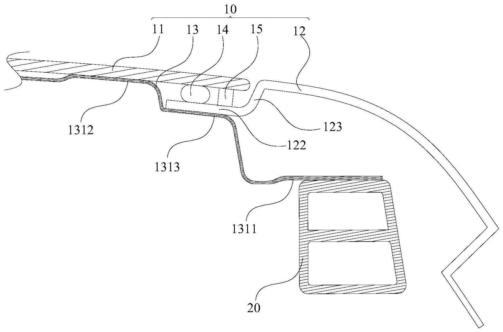
专利摘要:本申请提供了一种车载显示屏以及车辆,车载显示屏包括显示屏组件以及遮光组件;显示屏组件包括外壳和显示屏,显示屏固定于外壳内,外壳远离显示屏背面的一侧开设有容纳槽;遮光组件位于容纳槽内,且与容纳槽活动连接;其中,收纳状态下,遮光组件完全位于容纳槽内;遮光状态下,遮光组件一部分位于所述容纳槽内,遮光组件另一部分位于容纳槽外且与显示屏呈角度设置。该车载显示屏中的遮光组件能够对光线进行遮挡,以避免太阳光等强光照射在显示屏上存在反光,进而影响到屏幕读取以及驾驶人员的视力的问题,以保证显示屏的显示可靠性,提高了用户的体验效果,同时提高了一定的安全性。

图片来源于网络,如有侵权,请联系删除
今年以来长城汽车新获得专利授权1450个,较去年同期增加了55.41%。结合公司2024年年报财务数据,2024年公司在研发方面投入了92.84亿元,同比增15.27%。
通过天眼查大数据分析,长城汽车股份有限公司共对外投资了74家企业,参与招投标项目2429次;财产线索方面有商标信息6790条,专利信息24186条,著作权信息194条;此外企业还拥有行政许可619个。
数据来源:天眼查APP
以上内容为证券之星据公开信息整理,由AI算法生成(网信算备310104345710301240019号),不构成投资建议。
