绿通科技获得实用新型专利授权:“一种车辆双轮稳定性补偿架”
作者:小微
发表于:2025年06月20日
浏览量:54881

图片来源于网络,如有侵权,请联系删除
证券之星消息,根据天眼查APP数据显示绿通科技(301322)新获得一项实用新型专利授权,专利名为“一种车辆双轮稳定性补偿架”,专利申请号为CN202422383692.4,授权日为2025年6月20日。
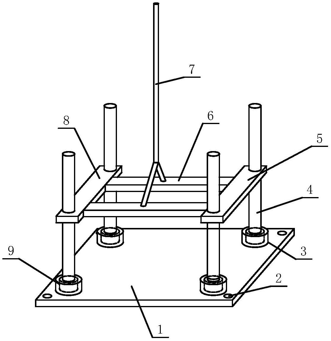
专利摘要:本实用新型涉及机动车转弯时左右车轮行驶稳定性。涉及一种车辆双轮稳定性补偿架,包括车轮悬挂架、车架以及补偿架,所述补偿架包括底层架和上层架,所述底层架和上层架为一体结构,在底层架和上层架的后侧面固定有补偿架连接板;在所述补偿架连接板上设有连接孔,在该连接孔固定有轴承,通过螺栓使该补偿架连接板与车架固定连接;在所述底层架上分别设有左连接板和右连接板与所述车轮悬挂架固定连接;在所述上层架上设有左耳板与车轮悬挂架左弹簧固定连接,在所述上层架上设有右耳板与车辆悬挂架右弹簧固定连接。本技术方案可以彻底解决车辆重心靠后小半径高速运动时一侧前轮翘起的问题。
今年以来绿通科技新获得专利授权21个,较去年同期增加了2000%。结合公司2024年年报财务数据,2024年公司在研发方面投入了2951.38万元,同比减27.03%。
通过天眼查大数据分析,广东绿通新能源电动车科技股份有限公司共对外投资了1家企业,参与招投标项目266次;财产线索方面有商标信息22条,专利信息108条,著作权信息6条;此外企业还拥有行政许可72个。
数据来源:天眼查APP
以上内容为证券之星据公开信息整理,由AI算法生成(网信算备310104345710301240019号),不构成投资建议。
