华茂股份获得实用新型专利授权:“轴流开棉机托板结构”
作者:小微
发表于:2025年06月18日
浏览量:62416

图片来源于网络,如有侵权,请联系删除
证券之星消息,根据天眼查APP数据显示华茂股份(000850)新获得一项实用新型专利授权,专利名为“轴流开棉机托板结构”,专利申请号为CN202421943353.0,授权日为2025年6月3日。
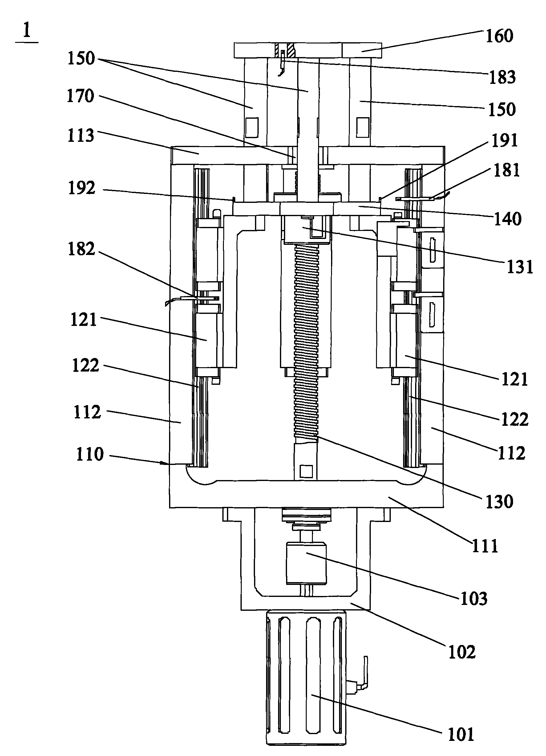
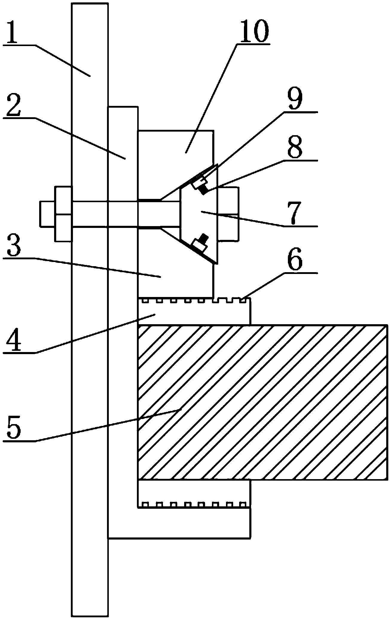
专利摘要:本实用新型公开了轴流开棉机托板结构,涉及开棉机,所述开棉机包括外壳,所述外壳内设有尘棒,所述尘棒下方时设有格栅,所述格栅安装于固定板上,还包括托板组件,所述托板组件包括托板,所述托板包括第一板和第二板,所述第一板与第二板滑动配合,用于调节托板的整体长度,且所述托板两端分别设有第一固定件和第二固定件;本实用新型中,通过将托板置于开棉机的尘棒进口处,能够有效阻挡棉丝向外溢出,降低后续清理的劳动强度,同时托板由第一板和第二板组成,能够根据不同进口大小进行调整,另外托板通过两端的固定件进行安装,操作方便快捷。

图片来源于网络,如有侵权,请联系删除
今年以来华茂股份新获得专利授权63个,较去年同期增加了28.57%。结合公司2024年年报财务数据,2024年公司在研发方面投入了1.11亿元,同比减5.63%。

图片来源于网络,如有侵权,请联系删除
数据来源:天眼查APP
以上内容为证券之星据公开信息整理,由AI算法生成(网信算备310104345710301240019号),不构成投资建议。
