国盛智科获得外观设计专利授权:“五轴立式加工中心(MX650)”
作者:小微
发表于:2025年06月13日
浏览量:70146

图片来源于网络,如有侵权,请联系删除
证券之星消息,根据天眼查APP数据显示国盛智科(688558)新获得一项外观设计专利授权,专利名为“五轴立式加工中心(MX650)”,专利申请号为CN202430647432.6,授权日为2025年6月13日。
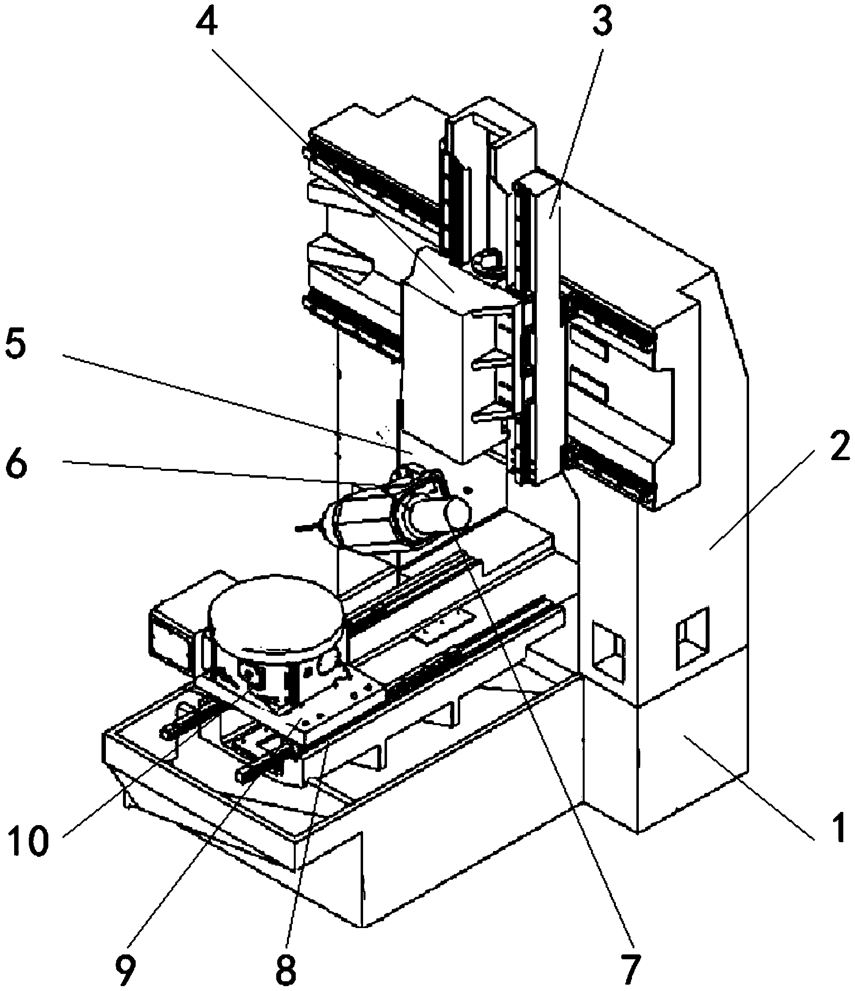
专利摘要:1.本外观设计产品的名称:五轴立式加工中心(MX650)。2.本外观设计产品的用途:用于数控加工。3.本外观设计产品的设计要点:在于整体形状。4.最能表明设计要点的图片或照片:立体图1。5.本外观设计产品的底面为使用时不容易看到或看不到的部位,省略仰视图。

图片来源于网络,如有侵权,请联系删除
今年以来国盛智科新获得专利授权18个,较去年同期增加了350%。结合公司2024年年报财务数据,2024年公司在研发方面投入了5390.32万元,同比减2.49%。

图片来源于网络,如有侵权,请联系删除
数据来源:天眼查APP
以上内容为证券之星据公开信息整理,由AI算法生成(网信算备310104345710301240019号),不构成投资建议。
