格力电器获得发明专利授权:“出风装置、风扇及风扇的控制方法”
作者:小微
发表于:2025年06月07日
浏览量:65644

图片来源于网络,如有侵权,请联系删除
证券之星消息,根据天眼查APP数据显示格力电器(000651)新获得一项发明专利授权,专利名为“出风装置、风扇及风扇的控制方法”,专利申请号为CN202011569026.X,授权日为2025年6月6日。
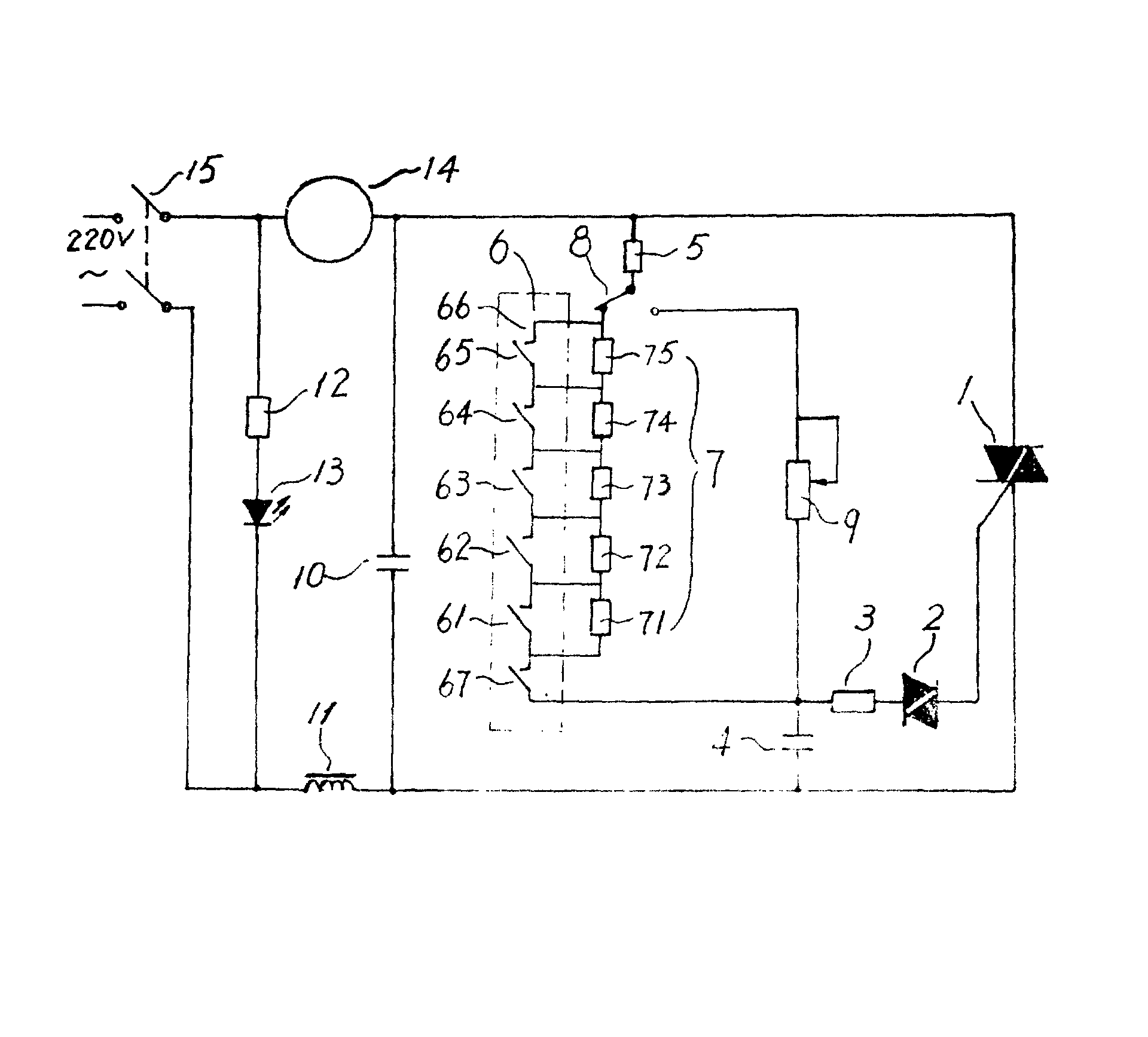
专利摘要:本发明提供了一种出风装置、风扇及风扇的控制方法。出风装置包括:风道壳,具有进风口、与进风口连通的出风通道以及与出风通道连通的出风口;叶片组件,位于风道壳内,叶片组件包括支撑杆和设置于支撑杆的叶片,叶片包括两个叶片段和连接两个叶片段的连接部,连接部可转动地设置于支撑杆。本发明的技术方案解决了现有技术中的出风装置因出风不顺畅而导致噪音大的问题。

图片来源于网络,如有侵权,请联系删除
今年以来格力电器新获得专利授权2628个,较去年同期减少了7.3%。结合公司2024年年报财务数据,2024年公司在研发方面投入了69.04亿元,同比增2.1%。

图片来源于网络,如有侵权,请联系删除
数据来源:天眼查APP
以上内容为证券之星据公开信息整理,由AI算法生成(网信算备310104345710301240019号),不构成投资建议。
