格力电器获得实用新型专利授权:“一种蒸发器组件、冷却单元和制冷系统”
作者:小微
发表于:2025年06月07日
浏览量:59635

图片来源于网络,如有侵权,请联系删除
证券之星消息,根据天眼查APP数据显示格力电器(000651)新获得一项实用新型专利授权,专利名为“一种蒸发器组件、冷却单元和制冷系统”,专利申请号为CN202421999110.9,授权日为2025年6月6日。
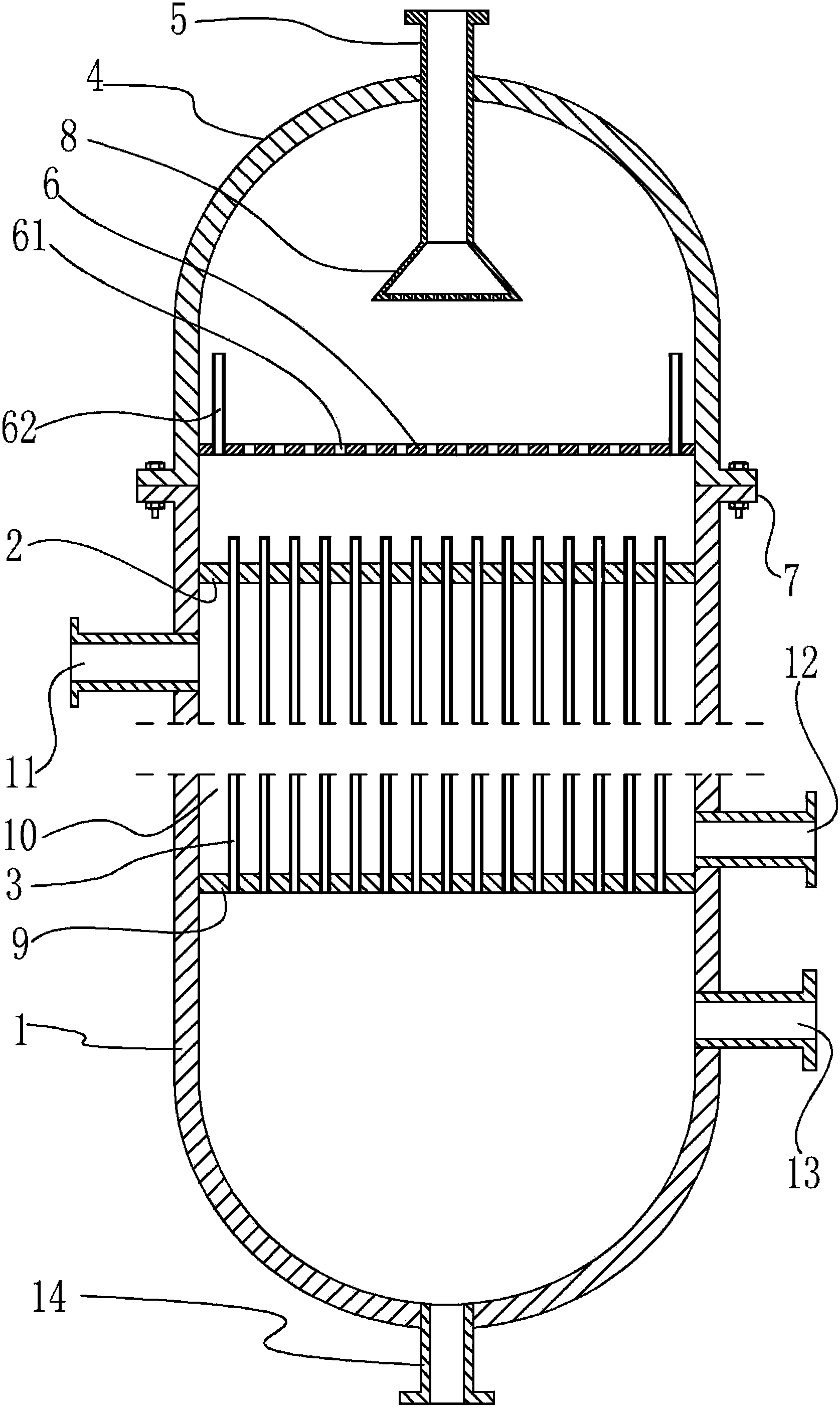
专利摘要:本实用新型提供一种蒸发器组件、冷却单元和制冷系统,其中,蒸发器组件包括蒸发器和加热器;加热器与蒸发器之间具有间隔,加热器用于在除霜模式下通过热辐射的方式对蒸发器加热,以使蒸发器化霜;加热器呈柔性膜状。根据本实用新型的技术方案,由于加热器在除霜模式下可以通过热辐射的方式对蒸发器加热,从而可以使蒸发器的温度升高,以进行化霜。另外,由于加热器呈柔性膜状,从而可以节省加热器的体积,有利于加热器在狭窄的空间内安装,使加热器的安装更为灵活。本实用新型解决了厨房冷却单元换热效果不理想的问题,增强了厨房冷却单元的换热效果,解决了厨房冷却单元换热器管路堵塞或者系统流量堵塞的问题,可以预防管路因高压而爆裂。

图片来源于网络,如有侵权,请联系删除
今年以来格力电器新获得专利授权2628个,较去年同期减少了7.3%。结合公司2024年年报财务数据,2024年公司在研发方面投入了69.04亿元,同比增2.1%。

图片来源于网络,如有侵权,请联系删除
数据来源:天眼查APP
以上内容为证券之星据公开信息整理,由AI算法生成(网信算备310104345710301240019号),不构成投资建议。
