四方科技获得实用新型专利授权:“速冻机用整鱼自动分离装置”
作者:小微
发表于:2025年06月03日
浏览量:64081

图片来源于网络,如有侵权,请联系删除
证券之星消息,根据天眼查APP数据显示四方科技(603339)新获得一项实用新型专利授权,专利名为“速冻机用整鱼自动分离装置”,专利申请号为CN202421883327.3,授权日为2025年6月3日。
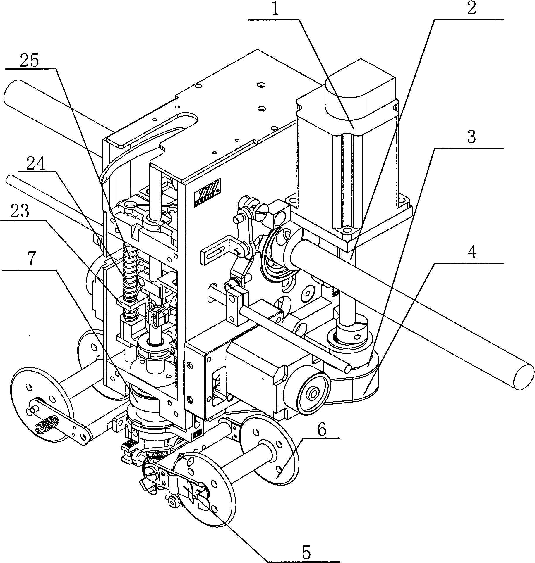
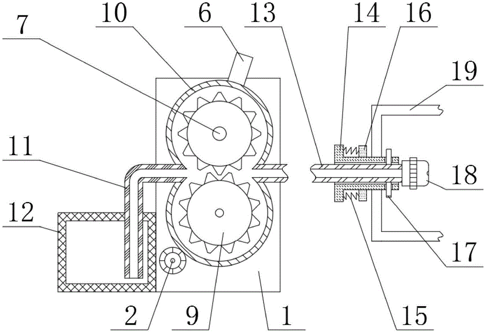
专利摘要:本申请涉及一种速冻机用整鱼自动分离装置,包括安装单元、检测单元、气缸、分离推杆以及控制单元,检测单元检测到整鱼运输到指定位置之后,将信号传递给控制单元,控制单元控制气缸推动分离推杆开始动作,敲击冻整鱼,使整鱼与鱼盘分离并掉落在刮料板上,并通过刮料板滑到后端输送机上。上述装置实现了冻鱼与托盘的自动分离,实现了产品与输送带的自动分离,且保证产品运输完好,提高了生产效率。

图片来源于网络,如有侵权,请联系删除
今年以来四方科技新获得专利授权20个,较去年同期增加了33.33%。结合公司2024年年报财务数据,2024年公司在研发方面投入了8128.83万元,同比减14.24%。
数据来源:天眼查APP
以上内容为证券之星据公开信息整理,由AI算法生成(网信算备310104345710301240019号),不构成投资建议。
