格力电器获得实用新型专利授权:“一种换热结构及空调器”
作者:小微
发表于:2025年05月31日
浏览量:54478

图片来源于网络,如有侵权,请联系删除
证券之星消息,根据天眼查APP数据显示格力电器(000651)新获得一项实用新型专利授权,专利名为“一种换热结构及空调器”,专利申请号为CN202421800037.8,授权日为2025年5月30日。
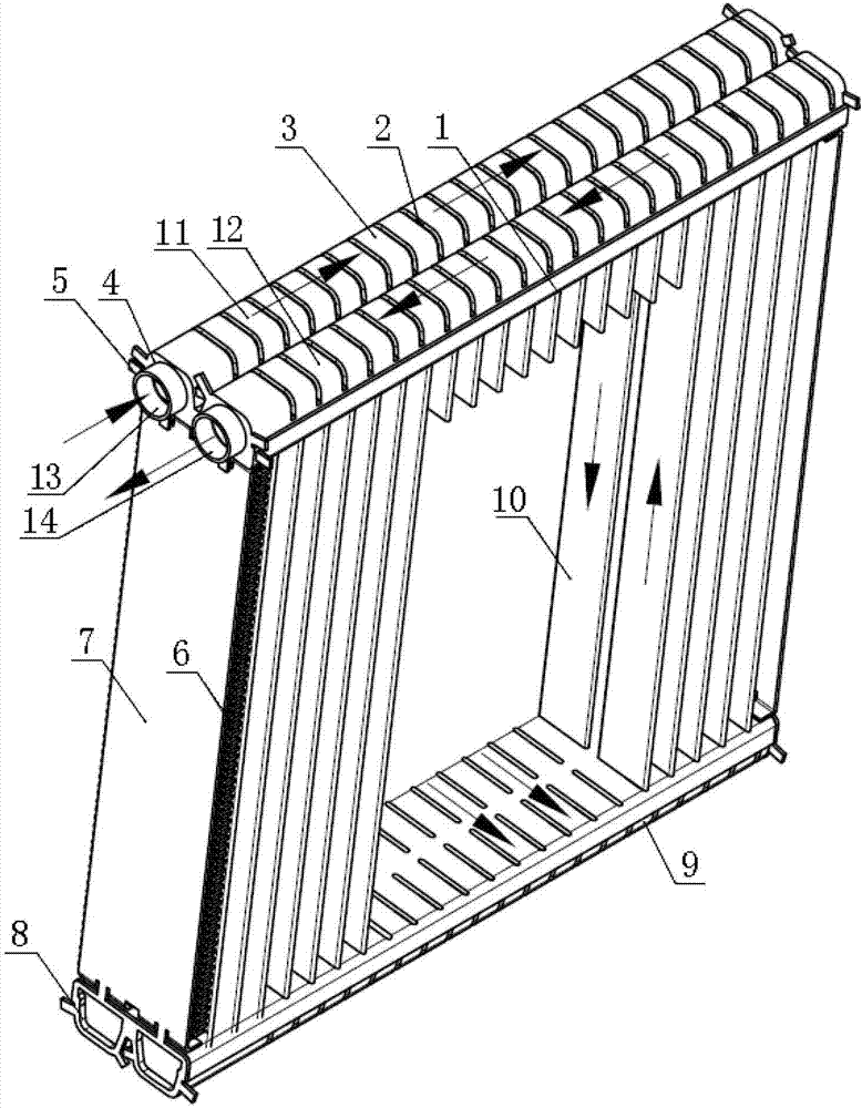
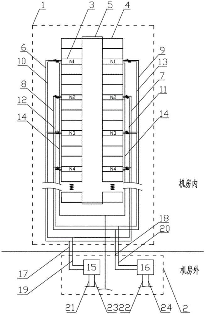
专利摘要:本实用新型提供了一种换热结构及空调器,换热结构包括:换热管组,换热管组包括翅片和穿设在翅片内的换热管;换热管的下方具有用于供气流流通的回风通道;蓄水部件,位于回风通道内,蓄水部件包括蓄水槽,蓄水槽与翅片相对应地设置,以使翅片上的冷凝水流入蓄水槽;开关机构,开关机构具有关闭状态和开启状态;当开关机构处于关闭状态时,开关机构密封蓄水槽,以使冷凝水在蓄水槽内聚集;当开关机构处于开启状态时,开关机构打开蓄水槽,以使蓄水槽内的冷凝水流出,本实用新型的换热结构解决了空调换热器产生的冷凝水没有被有效利用的技术问题。

图片来源于网络,如有侵权,请联系删除
今年以来格力电器新获得专利授权2430个,较去年同期减少了10.1%。结合公司2024年年报财务数据,2024年公司在研发方面投入了69.04亿元,同比增2.1%。
数据来源:天眼查APP
以上内容为证券之星据公开信息整理,由AI算法生成(网信算备310104345710301240019号),不构成投资建议。
