京东方A获得发明专利授权:“一种显示装置、显示方法及其制作方法”
作者:小微
发表于:2025年05月31日
浏览量:53239

图片来源于网络,如有侵权,请联系删除
证券之星消息,根据天眼查APP数据显示京东方A(000725)新获得一项发明专利授权,专利名为“一种显示装置、显示方法及其制作方法”,专利申请号为CN202210445202.1,授权日为2025年5月30日。
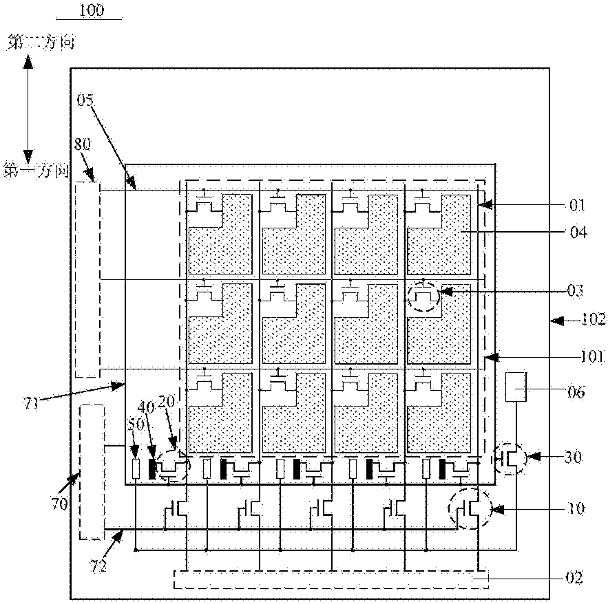
专利摘要:本发明公开了一种显示装置、显示方法及其制作方法,所述显示装置包括与所述屏下传感器对应的第一显示区、以及至少部分围绕所述第一显示区的第二显示区,其中彩膜层包括设置在所述第一显示区的第一彩膜滤光片和设置在各第一彩膜滤光片之间的第一透光开口;发光层包括多个子像素开口区、以及设置在所述第一显示区的至少部分相邻两个子像素开口区间的凸状结构区,所述凸状结构区包括多个设置在所述驱动电路层上的第一凸状结构,所述凸状结构区在所述衬底上的正投影至少部分覆盖所述第一透光开口在所述衬底上的正投影。本申请实施例的显示装置能够解决现有技术中屏下传感器区域的显示不良问题,有效提高显示装置的显示效果。

图片来源于网络,如有侵权,请联系删除
今年以来京东方A新获得专利授权1714个,较去年同期增加了4.77%。结合公司2024年年报财务数据,2024年公司在研发方面投入了131.23亿元,同比增15.94%。

图片来源于网络,如有侵权,请联系删除
数据来源:天眼查APP
以上内容为证券之星据公开信息整理,由AI算法生成(网信算备310104345710301240019号),不构成投资建议。
