驰宏锌锗获得实用新型专利授权:“一种区熔锗锭酸碱洗一体的装置”
作者:小微
发表于:2025年05月30日
浏览量:69317

图片来源于网络,如有侵权,请联系删除
证券之星消息,根据天眼查APP数据显示驰宏锌锗(600497)新获得一项实用新型专利授权,专利名为“一种区熔锗锭酸碱洗一体的装置”,专利申请号为CN202422475815.7,授权日为2025年5月30日。
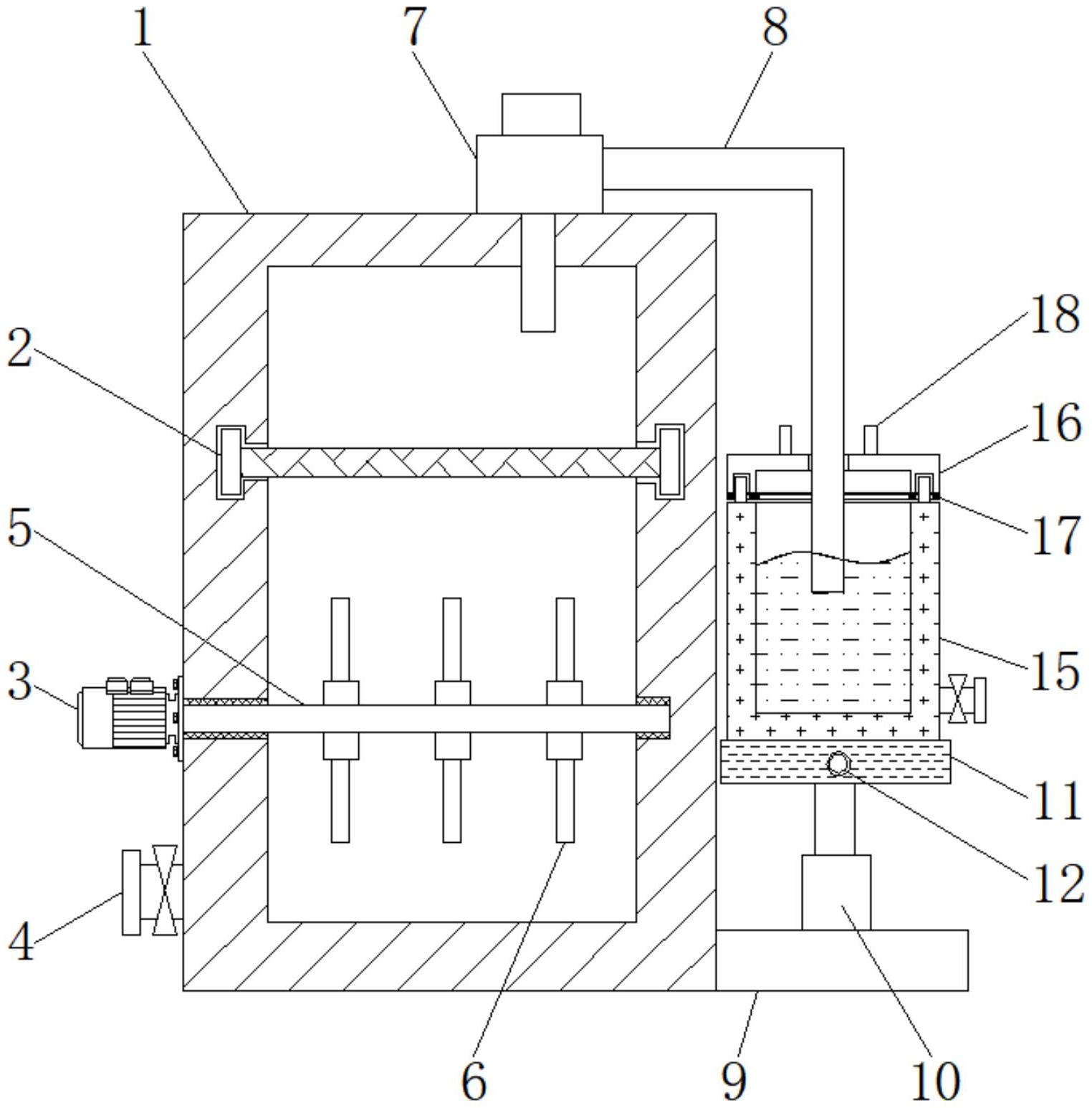
专利摘要:本申请是关于一种区熔锗锭酸碱洗一体的装置。所述的上料横向移载机构和下料横向移载机构分别设置于机架的两端,机架上部前侧沿上料横向移载机构至下料横向移载机构方向依次设置有加热池、酸洗池、第一清洗池、碱洗池、第二清洗池,且第一清洗池、碱洗池、第二清洗池的侧壁上安装有超声振板,桁架机械手安装在机架上,上料横向移载机构、下料横向移载机构和桁架机械手分别与控制系统电性连接;加热池、酸洗池、第一清洗池、碱洗池、第二清洗池分别与管路系统连通。本申请减少了作业的风险,提高了清洗效率,提高了安全性;减少了取样人员与精矿的接触的职业健康风险;降低了人工劳动强度,提升了清洗表面的质量。

图片来源于网络,如有侵权,请联系删除
今年以来驰宏锌锗新获得专利授权56个,较去年同期增加了86.67%。结合公司2024年年报财务数据,2024年公司在研发方面投入了1.3亿元,同比增80.86%。
数据来源:天眼查APP
以上内容为证券之星据公开信息整理,由AI算法生成(网信算备310104345710301240019号),不构成投资建议。
