福莱特获得实用新型专利授权:“一种重碱运输装置”
作者:小微
发表于:2025年05月30日
浏览量:49154

图片来源于网络,如有侵权,请联系删除
证券之星消息,根据天眼查APP数据显示福莱特(601865)新获得一项实用新型专利授权,专利名为“一种重碱运输装置”,专利申请号为CN202421640417.X,授权日为2025年5月30日。
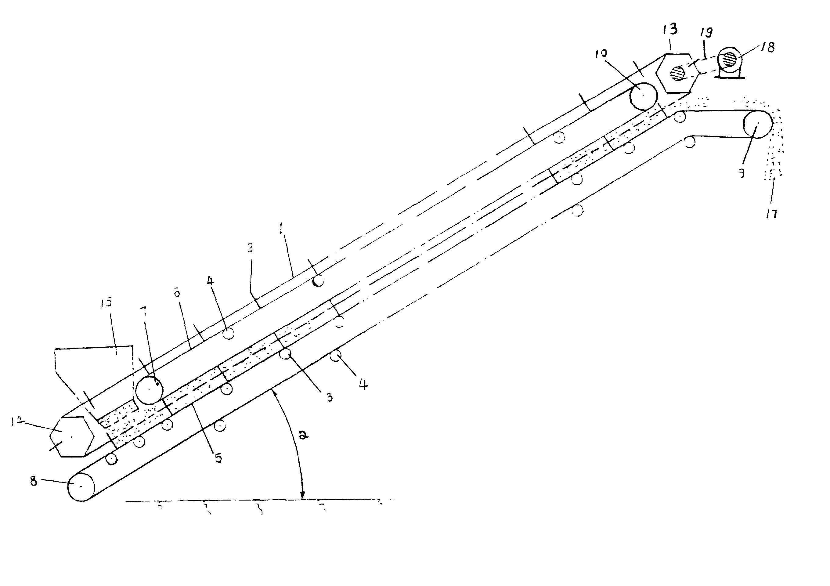
专利摘要:本实用新型属于光伏技术领域,公开了一种重碱运输装置,该重碱运输装置包括运输机构、筛网、挡板和斗式提升机,运输机构具有进料口和出料口,筛网安装于进料口,挡板环绕筛网设置,斗式提升机具有下料溜管,下料溜管与出料口连通设置。该重碱运输装置能够较好地降低结块重碱导致斗式提升机的料斗损坏的几率,降低斗式提升机的故障发生率,且能够较好地缓解原料溢出的现象,防止因上料过快导致原料溢出,减少人工疏通、铲料等操作,降低原料浪费。

图片来源于网络,如有侵权,请联系删除
今年以来福莱特新获得专利授权9个,较去年同期增加了12.5%。结合公司2024年年报财务数据,2024年公司在研发方面投入了6.05亿元,同比增1.35%。

图片来源于网络,如有侵权,请联系删除
数据来源:天眼查APP
以上内容为证券之星据公开信息整理,由AI算法生成(网信算备310104345710301240019号),不构成投资建议。
