京东方A获得发明专利授权:“显示面板和显示装置”
作者:小微
发表于:2025年05月28日
浏览量:62165

图片来源于网络,如有侵权,请联系删除
证券之星消息,根据天眼查APP数据显示京东方A(000725)新获得一项发明专利授权,专利名为“显示面板和显示装置”,专利申请号为CN202180001915.2,授权日为2025年5月27日。
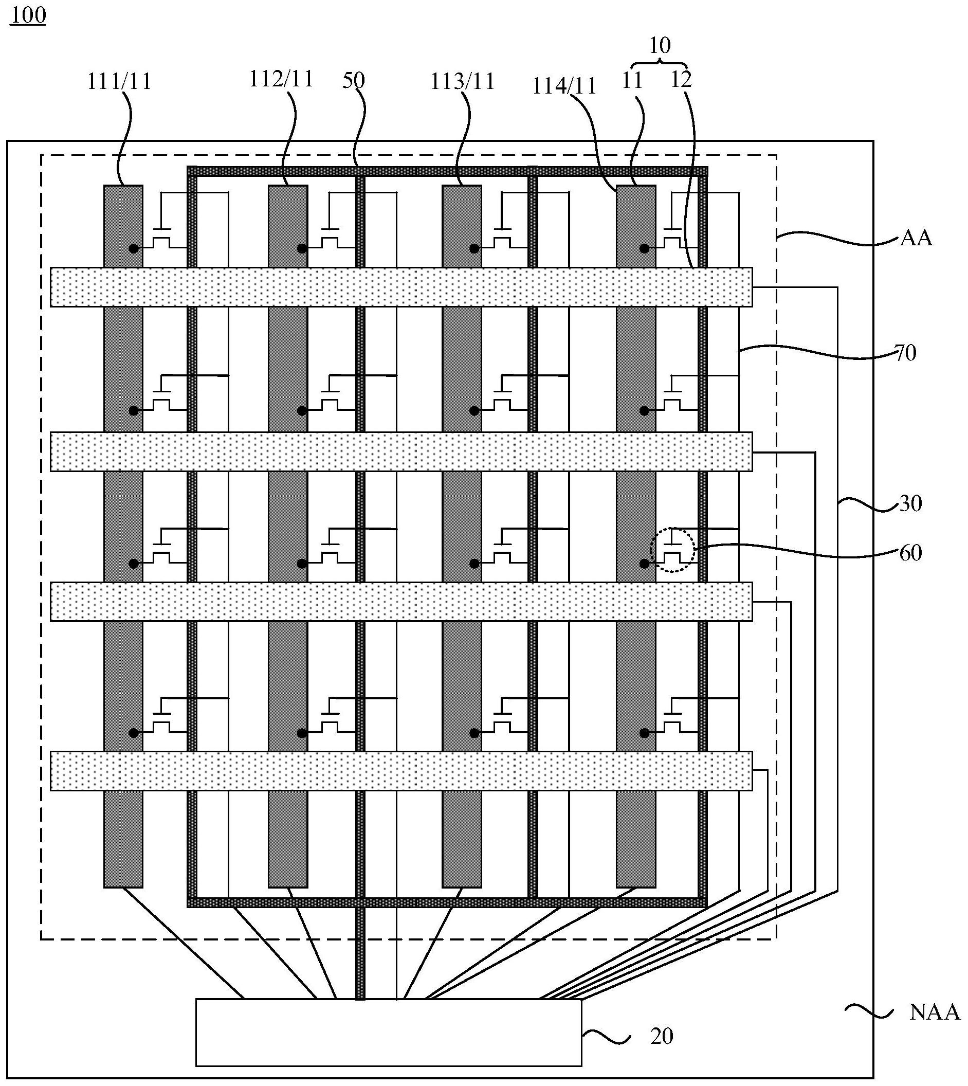
专利摘要:一种显示面板和显示装置。显示面板包括:衬底基板(BS),具有第一显示区(R1)和第二显示区(R2),第一显示区(R1)位于第二显示区(R2)的至少一侧;多个第一像素电路(10),位于第一显示区(R1);多个第一发光元件(30),位于第一显示区(R1),第一像素电路(10)配置为驱动至少一个第一发光元件(30);多个第二像素电路(20),位于第一显示区(R1);多个第二发光元件(40),位于第二显示区(R2),第二像素电路(20)配置为驱动至少一个第二发光元件(40);以及多条导电线(L1),第二像素电路(20)通过至少一条导电线(L1)与第二发光元件(40)相连;多个第二发光元件(40)包括多个组(G),多个组(G)中的至少一组(G)包括多个子组(S),每个子组(S)包括至少一个第二发光元件(40),与不同子组(S)的第二发光元件(40)相连的导电线(L1)位于不同的相邻组(G)的第二发光元件(40)之间。

图片来源于网络,如有侵权,请联系删除
今年以来京东方A新获得专利授权1681个,较去年同期增加了3.57%。结合公司2024年年报财务数据,2024年公司在研发方面投入了131.23亿元,同比增15.94%。

图片来源于网络,如有侵权,请联系删除
数据来源:天眼查APP
以上内容为证券之星据公开信息整理,由AI算法生成(网信算备310104345710301240019号),不构成投资建议。
