三花智控获得发明专利授权:“一种电磁线圈装置及燃气阀”
作者:小微
发表于:2025年05月24日
浏览量:53060

图片来源于网络,如有侵权,请联系删除
证券之星消息,根据天眼查APP数据显示三花智控(002050)新获得一项发明专利授权,专利名为“一种电磁线圈装置及燃气阀”,专利申请号为CN202010583056.X,授权日为2025年5月23日。
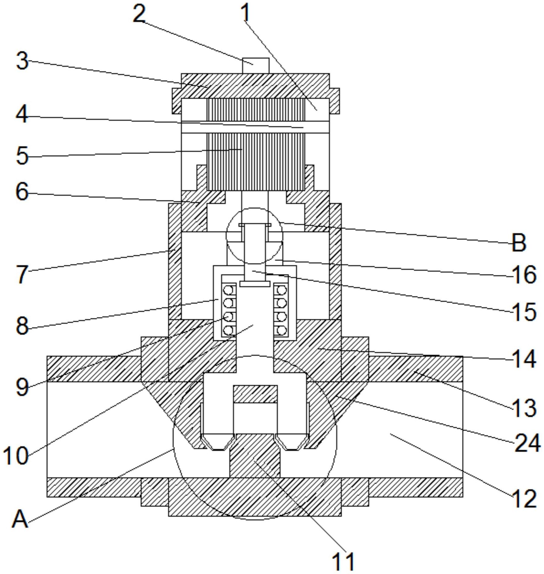
专利摘要:本申请涉及一种电磁线圈装置及燃气阀,电磁线圈装置至少包括第一绕组部件和第二绕组部件,第一绕组部件的第一骨架设置有第一连接口和第二连接口,第二绕组部件的第二骨架设置有第三连接口和第四连接口,电磁线圈装置还包括第一插针部、第二插针部和第三插针部,第一插针部与第一连接口连接,第二插针部与第四连接口连接,第三插针部同时与第二连接口和第三连接口连接,这样的设计可以使第一绕组部件和第二绕组部件的电连接方式更加灵活,使第一绕组部件和第二绕组部件既可以进行串联,也可以进行并联,以使电磁线圈装置能够适用于不同的电连接方式。

图片来源于网络,如有侵权,请联系删除
今年以来三花智控新获得专利授权57个,较去年同期增加了111.11%。结合公司2024年年报财务数据,2024年公司在研发方面投入了13.52亿元,同比增23.25%。
数据来源:天眼查APP
以上内容为证券之星据公开信息整理,由AI算法生成(网信算备310104345710301240019号),不构成投资建议。
